EasyManua.ls Logo

Panasonic NV-DV2000 - Page 16

Panasonic NV-DV2000
170 pages
Print Icon
To Next Page IconTo Next Page
To Next Page IconTo Next Page
To Previous Page IconTo Previous Page
To Previous Page IconTo Previous Page
Loading...
http://cxema.ru
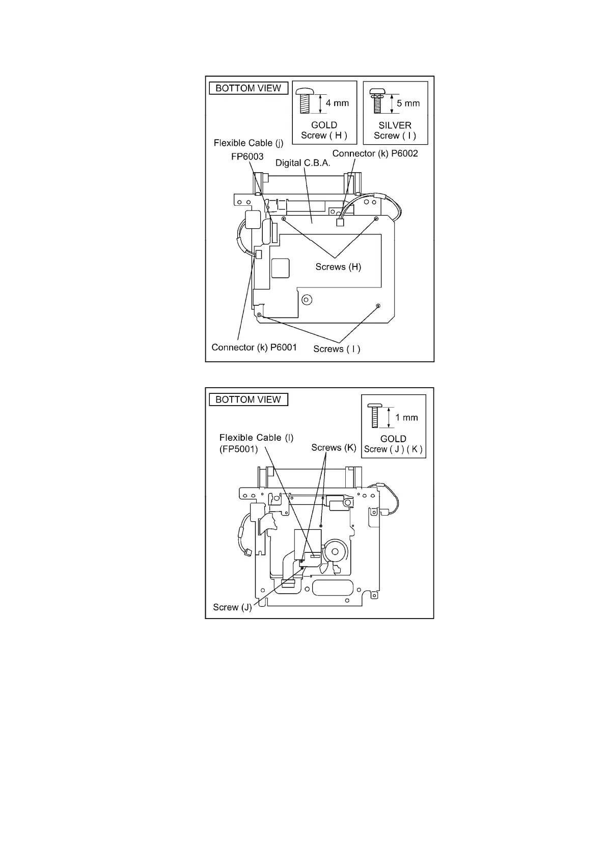
Fig. D7
Fig. D8

Related product manuals