EasyManua.ls Logo

Panasonic SA-PMX3GN - Page 15

Panasonic SA-PMX3GN
102 pages
Print Icon
To Next Page IconTo Next Page
To Next Page IconTo Next Page
To Previous Page IconTo Previous Page
To Previous Page IconTo Previous Page
Loading...
Item FL Display Key Operation
Mode Name Description Front Key
Cold Start (Reset) To activate cold start
ipon next AC power up.
In service mode:
1. Press [3] button on remote control.
To exit Service Mode, press [
] button on
main unit or remote control.
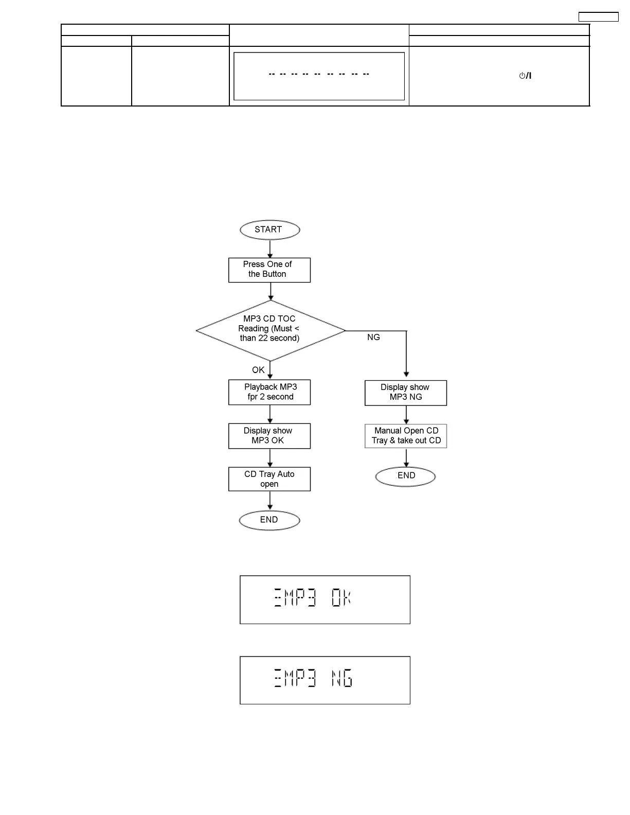
7.2.4. CD-MP3 Reading & Playing inspection
Purpose : CD-MP3 Reading & Playing test.
Below is the procedures for this mode.
Step 1 : Enter into Doctor mode. (For more information refer to section 7.1 on key operation to enter into this mode)
Step 2 : Insert CD with MP3 tracks. (Ensure correct MP3 tracks is loaded)
Step 3 : Press [5] button on remote control. Execute MP3 Disc Check (Refer Flowchart below)
Result display :
Displayed if MP3 test OK
Displayed if MP3 test NG
15
SA-PMX3GN

Related product manuals