EasyManua.ls Logo

Panasonic SA-PMX3GN - Page 26

Panasonic SA-PMX3GN
102 pages
Print Icon
To Next Page IconTo Next Page
To Next Page IconTo Next Page
To Previous Page IconTo Previous Page
To Previous Page IconTo Previous Page
Loading...
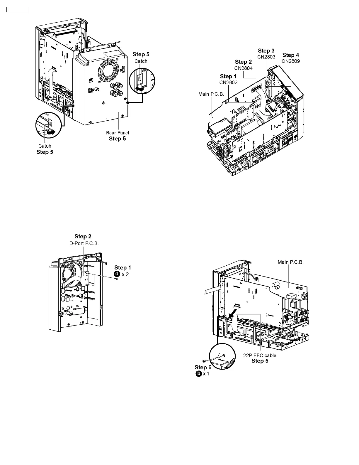
Step 5 : Release the catch at each side of the Rear Panel in
the direction of arrow.
Step 6 : Remove Rear Panel.
8.10. Disassembly of D-Port P.C.B.
Follow the (Step 1) - (Step 5) of Item 8.3
Follow the (Step 1) - (Step 6) of Item 8.9
Step 1 : Remove 2 screws from D-Port P.C.B..
Step 2 : Remove D-Port P.C.B..
8.11. Disassembly of Main P.C.B.
Follow the (Step 1) - (Step 5) of Item 8.3
Follow the (Step 1) - (Step 6) of Item 8.9
Step 1 : Detach 22P FFC cable at the connector (CN2802) on
Main P.C.B..
Step 2 : Detach 20P FFC cable at the connector (CN2804) on
Main P.C.B..
Step 3 : Detach 17P FFC cable at the connector (CN2803) on
Main P.C.B..
Step 4 : Detach 4P cable at the connector (CN2809) on Main
P.C.B..
Step 5 : Remove 22P FFC cable from Main P.C.B. in the
direction of arrow.
Step 6 : Remove 1 screw from Main P.C.B..
26
SA-PMX3GN

Related product manuals