EasyManua.ls Logo

Panasonic TH-42PV500A - Basic Controls: Front Panel and Remote

Panasonic TH-42PV500A
167 pages
To Next Page IconTo Next Page
To Next Page IconTo Next Page
To Previous Page IconTo Previous Page
To Previous Page IconTo Previous Page
Loading...
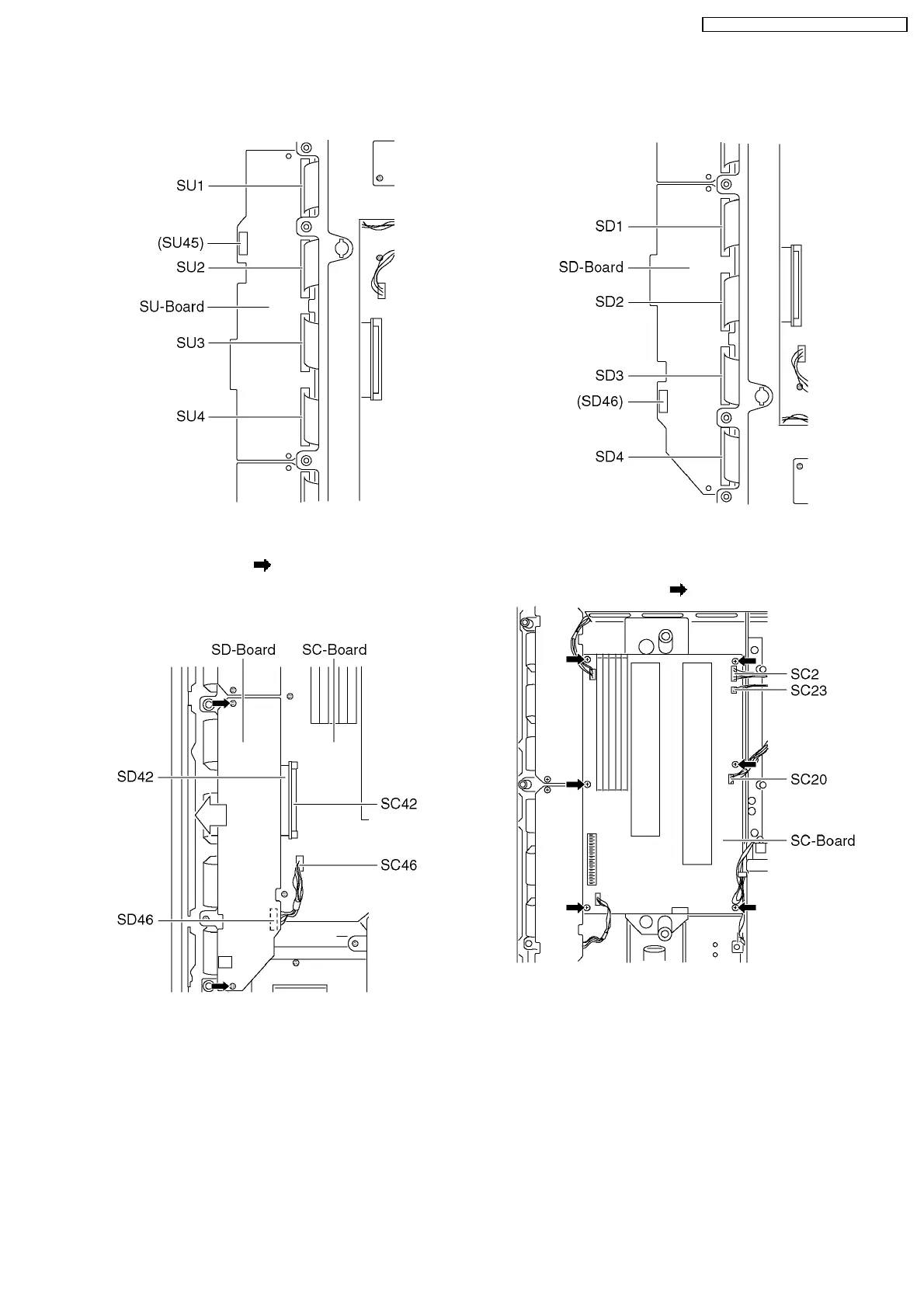
3. Remove the flexible cables (SU1, SU2, SU3 and SU4)
connected to the SU-Board, and remove the SU-Board.
6.13. Remove the SD-Board
1. Remove the screws (×2 ).
2. Slide the SD-Board to the left to disconnect from a coupler
(SC42 - SD42) on the SC-Board and remove a coupler
(SD46 or SC46).
3. Remove the flexible cables (SD1, SD2, SD3 and SD4)
connected to the SD-Board, and remove the SD-Board.
6.14. Remove the SC-Board
1. Disconnect the couplers (SC2, SC20 and SC23).
2. Remove the screws (×6
) and remove the SC-Board.
13
TH-42PV500A / TH-42PV500H / TH-42PV500M

Table of Contents

Other manuals for Panasonic TH-42PV500A

Related product manuals