EasyManua.ls Logo

Panasonic TH-42PV500A - Using the On Screen Displays

Panasonic TH-42PV500A
167 pages
To Next Page IconTo Next Page
To Next Page IconTo Next Page
To Previous Page IconTo Previous Page
To Previous Page IconTo Previous Page
Loading...
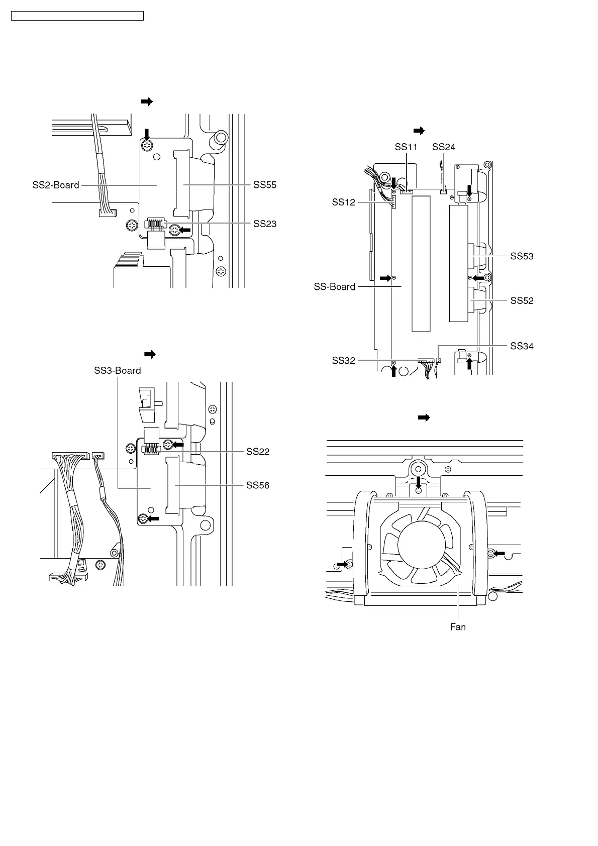
6.15. Remove the SS2-Board
1. Disconnect the coupler (SS23) and disconnect the flexible
cable (SS55).
2. Remove the screws (×2
) and remove the SS2-Board.
6.16. Remove the SS3-Board
1. Disconnect the coupler (SS22) and disconnect the flexible
cable (SS56).
2. Remove the screws (×2
) and remove the SS3-Board.
6.17. Remove the SS-Board
1. Remove the SS2-Board and SS3-Board.
2. Disconnect the couplers (SS11, SS12, SS24, SS32 and
SS34).
3. Disconnect the flexible cables (SS52 and SS53).
4. Remove the screws (×6
), and remove the SS-Board.
6.18. Remove the Fan
1. Remove the screws (×3 each) remove the fan and
disconnect the relay coupler.
14
TH-42PV500A / TH-42PV500H / TH-42PV500M

Table of Contents

Other manuals for Panasonic TH-42PV500A

Related product manuals