EasyManua.ls Logo

Panasonic TH-42PX600U

Panasonic TH-42PX600U
165 pages
To Next Page IconTo Next Page
To Next Page IconTo Next Page
To Previous Page IconTo Previous Page
To Previous Page IconTo Previous Page
Loading...
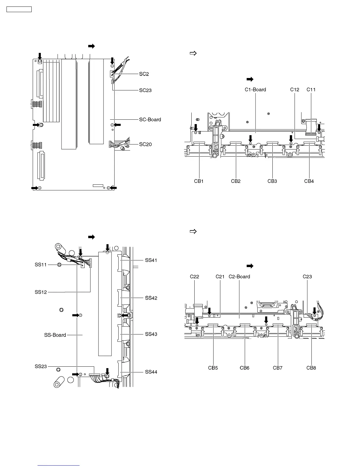
6.16. Remove the SC-Board
1. Unlock the cable clampers to free the cable.
2. Disconnect the couplers (SC2, SC20 and SC23).
3. Remove the screws (×6
) and remove the SC-Board.
6.17. Remove the SS-Board
1. Disconnect the couplers (SS11, SS12 and SS23).
2. Disconnect the flexible cables (SS41, SS42, SS43 and
SS44).
3. Remove the screws (×6
) and remove the SS-Board.
6.18. Remove the C1-Board
1. Remove the tuner unit. (See section 6.8.)
2. Unlock the cable clampers to free the cable.
3. Remove the flexible cables holder fastening screws (×8
).
4. Disconnect the flexible cables (CB1, CB2, CB3 and CB4).
5. Disconnect the flexible cables (C11 and C12).
6. Remove the screws (×4
) and remove the C1-Board.
6.19. Remove the C2-Board
1. Remove the tuner unit. (See section 6.8.)
2. Unlock the cable clampers to free the cable.
3. Remove the flexible cables holder fastening screws (×8
).
4. Disconnect the flexible cables (CB5, CB6, CB7 and CB8).
5. Disconnect the flexible cables (C21 and C22).
6. Disconnect the coupler (C23).
7. Remove the screws (×4
) and remove the C2-Board.
14
TH-42PX600U

Table of Contents

Other manuals for Panasonic TH-42PX600U

Related product manuals