EasyManua.ls Logo

Panasonic TH-P50VT20D - 6.3. No Power

Panasonic TH-P50VT20D
153 pages
Print Icon
To Next Page IconTo Next Page
To Next Page IconTo Next Page
To Previous Page IconTo Previous Page
To Previous Page IconTo Previous Page
Loading...
19
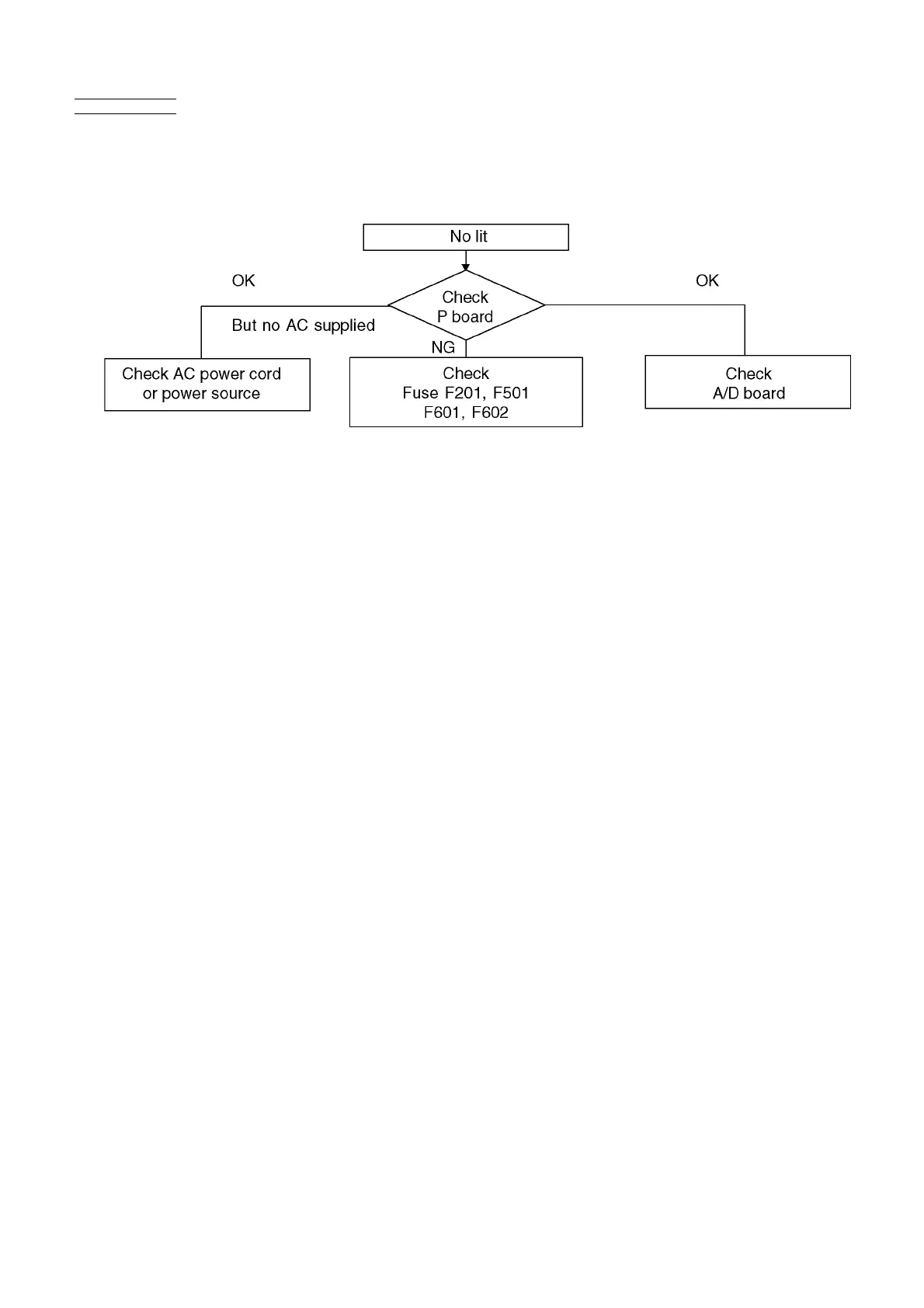
6.3. No Power
First check point
There are following 3 states of No Power indication by power LED.
1. No lit.
2. Green is lit then turns red blinking a few seconds later. (See 6.2.)
3. Only red is lit.

Table of Contents

Related product manuals