EasyManua.ls Logo

Panasonic TH-P50VT20D - 8.17. Remove the D-Board; 8.18. Remove the C1-Board; 8.19. Remove the C2-Board

Panasonic TH-P50VT20D
153 pages
Print Icon
To Next Page IconTo Next Page
To Next Page IconTo Next Page
To Previous Page IconTo Previous Page
To Previous Page IconTo Previous Page
Loading...
27
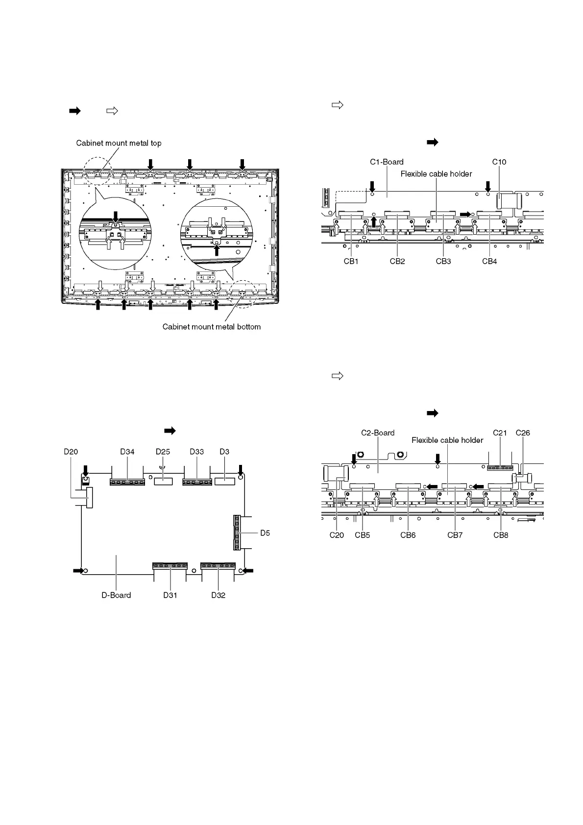
8.16. Remove the Cabinet mount
metals
1. Remove the One leg bracket. (See section 8.15.)
2. Remove the Cabinet mount metals fastening screws (×10
, ×20 ) and remove the Cabinet mount metal top
and the Cabinet mount metal bottom.
8.17. Remove the D-Board
1. Remove the AC inlet. (See section 8.1.)
2. Remove the Woofer. (See section 8.8.)
3. Disconnect the flexible cables (D5, D20, D31, D32, D33
and D34).
4. Disconnect the connectors (D3 and D25).
5. Remove the screws (×4 ) and remove the D-Board.
8.18. Remove the C1-Board
1. Remove the Cabinet mount metal bottom (See section
8.16.).
2. Remove the flexible cable holder fastening screws (×5
).
3. Disconnect the flexible cables (CB1, CB2, CB3 and CB4).
4. Disconnect the flexible cable (C10).
5. Remove the screws (×4 ) and remove the C1-Board.
8.19. Remove the C2-Board
1. Remove the Woofer. (See section 8.8.)
2. Remove the Hanger metal R and the One leg bracket.
(See section 8.15.)
3. Remove the Cabinet mount metal bottom (See section
8.17.).
4. Remove the flexible cable holder fastening screws (×5
).
5. Disconnect the flexible cables (CB5, CB6, CB7 and CB8).
6. Disconnect the flexible cables (C20, C21 and C26).
7. Remove the screws (×4 ) and remove the C2-Board.

Table of Contents

Related product manuals