EasyManua.ls Logo

Panasonic TX-P42VT20E - Component Removal Steps

Panasonic TX-P42VT20E
153 pages
Print Icon
To Next Page IconTo Next Page
To Next Page IconTo Next Page
To Previous Page IconTo Previous Page
To Previous Page IconTo Previous Page
Loading...
29
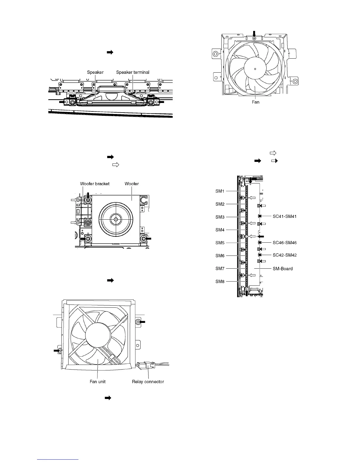
9.8. Remove the Speakers
1. Unlock the cable clampers to free the cable.
2. Disconnect the Speaker terminal.
3. Remove the screws (×2 each) and remove the Speak-
ers (L, R).
9.9. Remove the Woofer
1. Unlock the cable clampers to free the cable.
2. Disconnect the connector (A12). (See section 9.6.)
3. Remove the screws (×3 ) and remove the Woofer.
4. Remove the screws (×2 ) and remove the Woofer
bracket.
9.10. Remove the Fan
1. Unlock the cable clampers to free the cable.
2. Remove the screws (×2 ).
3. Remove the relay connectors and remove the Fan unit.
4. Remove the screw (×1 ) on the back side.
5. Remove the Fan.
9.11. Remove the SM-Board
1. Remove the flexible cables (SM1, SM2, SM3, SM4, SM5,
SM6, SM7 and SM8) connected to the SM-Board.
2. Remove the bridge connectors (SC41-SM41, SC42-
SM42 and SC46-SM46).
3. Remove the molding props (×4 ).
4. Remove the screws (×3 , ×4 ) and remove the SM-
Board.

Table of Contents

Related product manuals