EasyManua.ls Logo

Panasonic TX-P42VT20E - Cabinet Mount Metals Removal; D-Board and C1-Board Removal

Panasonic TX-P42VT20E
153 pages
Print Icon
To Next Page IconTo Next Page
To Next Page IconTo Next Page
To Previous Page IconTo Previous Page
To Previous Page IconTo Previous Page
Loading...
31
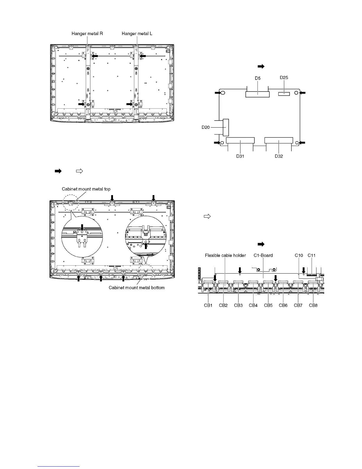
9.16. Remove the Cabinet mount
metals
1. Remove the One leg bracket. (See section 9.15.)
2. Remove the Cabinet mount metals fastening screws (×7
, ×14 ) and remove the cabinet mount metal top
and the Cabinet mount metal bottom.
9.17. Remove the D-Board
1. Remove the AC inlet. (See section 9.1.)
2. Remove the Woofer. (See section 9.9.)
3. Disconnect the flexible cables (D5, D20, D31 and D32).
4. Disconnect the connector (D25).
5. Remove the screws (×4 ) and remove the D-Board.
9.18. Remove the C1-Board
1. Remove the Hanger metal R and the One leg bracket.
(See section 9.15.)
2. Remove the Cabinet mount metal bottom (See section
9.16.).
3. Remove the flexible cable holder fastening screws (×12
).
4. Disconnect the flexible cables (CB1, CB2, CB3, CB4,
CB5, CB6, CB7 and CB8).
5. Disconnect the flexible cables (C10 and C11).
6. Remove the screws (×4 ) and remove the C1-Board.

Table of Contents

Related product manuals