EasyManua.ls Logo

Performax 240-3605 - Brush Replacement

Performax 240-3605
48 pages
Print Icon
To Next Page IconTo Next Page
To Next Page IconTo Next Page
To Previous Page IconTo Previous Page
To Previous Page IconTo Previous Page
Loading...
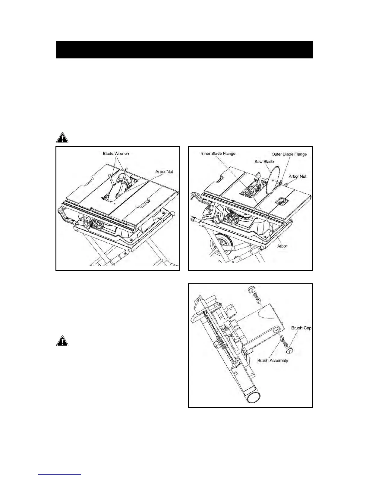
and contact blade.
• Raise the riving knife locking lever to upright position.
• Remove arbor nut, outer blade flange and saw blade.
• Place one new blade on arbor. Make sure saw blade teeth point down at the front side of saw table. Place outer flange and nut
on arbor and use blade wrenches to tighten nut securely.
• Push the riving knife locking lever back to locked position.
• Lower the saw blade to lowest position and replace table insert.
• Replace blade guard assembly and pawl assembly.
NOTE: Blade may be stored on the side of the saw in the same storage area provided for the blade wrenches.
BRUSH REPLACEMENT
Refer to Figure 63.
• Unplug the saw.
• Lower blade completely and bevel to 45°. Lock the blade.
• Turn saw upside down.
• Remove brush caps with a screwdriver.
NOTE: Brush assembly is spring load and will pop out
when brush cap is removed.
• Remove brush assemby and check for wear.
• Replace both brushes when either has less than 14” length of
carbon remaining. Do not replace one side without
replacing the other.
• Reassemble using new brush assemblies by reversing the
steps listed above. Make sure curvature of brush matches
curvature of motor and that brush moves freely in brush tube.
• Tighten all brush caps securely. Do not overtighten.
MAINTENANCE
Figure 62 Figure 61
Figure 63
_ 44 _

Table of Contents