EasyManua.ls Logo

Perkins M92B - Operation Instructions; How to Start the Engine

Perkins M92B
64 pages
Print Icon
To Next Page IconTo Next Page
To Next Page IconTo Next Page
To Previous Page IconTo Previous Page
To Previous Page IconTo Previous Page
Loading...
N37347 Chapter 3
Page 11
Operation instructions
How to start the engine
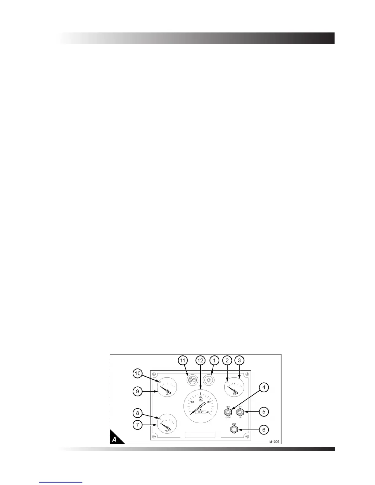
The instrument control panel for single and twin engine installations is shown in gure (A). The switches are
protected from the entry of water, but if the control panel is in an exposed location, it should be protected by a
cover when not in use.
Below is a description of the instruments and switches on the main panel.
Panel illumination: the gauges are always illuminated, press the button (A1) to adjust the level of
illumination.
Engine electrical system / stop switch (A5), which has two positions:
OFF: Move the switch lever up to switch off the electrical system
ON: Move the switch lever down to energise the electrical system.
Heat / start switch (A4), which is held up to energise the cold start aid (if one is tted), or held down to
energise the starter motor.
Stop button (A6) press the button to stop the engine.
Warning lamp (A2) to indicate that there is no electrical charge from the alternator.
Voltmeter (A3) to indicate the condition of the batteries and of the alternator.
Warning lamp (A10) for high coolant temperature
Gauge (A9) to indicate coolant temperature.
Tachometer (A12) to indicate the engine speed.The tachometer also has an hourmeter, this can be used to
ensure that the engine is maintained at the correct intervals.
Warning lamp (A8) for low lubricating oil pressure.
Gauge (A7) to indicate the lubricating oil pressure of the engine.
Warning lamp (A11) for water in the fuel.
Audible warning device, which operates if the engine has low lubricating oil pressure or high coolant
temperature. The audible warning device is situated behind the control panel.
Caution: If the audible warning device operates, the warning light(s) on the relevant main panel will indicate
the engine affected. Reduce the speed of the engine affected to idle and, if necessary, stop the engine.

Table of Contents

Other manuals for Perkins M92B

Related product manuals