EasyManua.ls Logo

Philips BJ3.1E LA - Page 147

Philips BJ3.1E LA
208 pages
Print Icon
To Next Page IconTo Next Page
To Next Page IconTo Next Page
To Previous Page IconTo Previous Page
To Previous Page IconTo Previous Page
Loading...
Circuit Diagrams and PWB Layouts
147BJ3.1E LA 7.
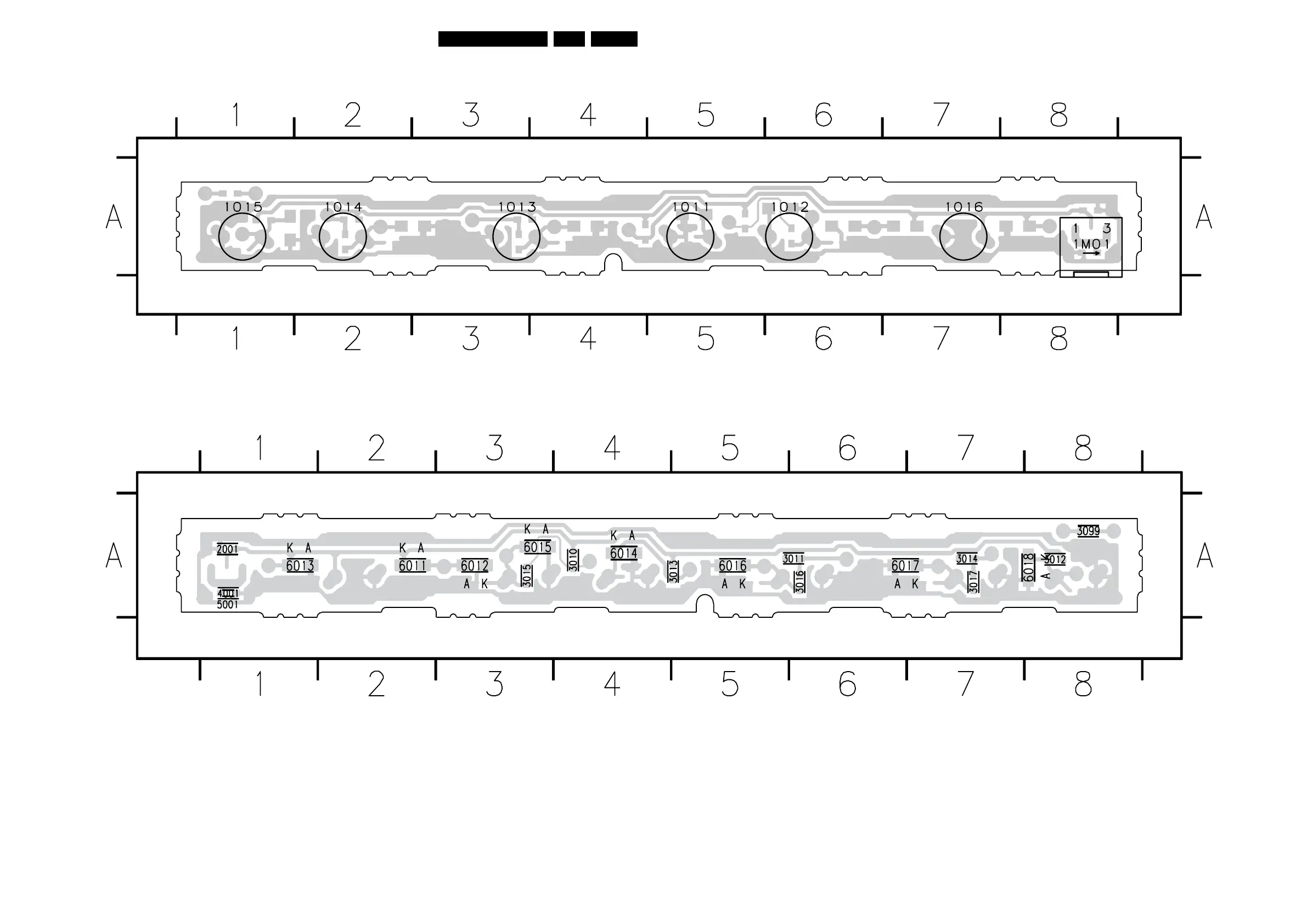
Layout Keyboard Control Panel (Top Side)
Layout Keyboard Control Panel (Bottom Side)
1011 A5 1012 A6 1013 A3 1014 A2 1015 A1 1016 A7 1M01 A8
G_16850_028.eps
120107
3139 123 6219.1
G_16850_029.eps
020207
3139 123 6219.1
2001 A1
3010 A4
3011 A6
3012 A8
3013 A5
3014 A7
3015 A3
3016 A6
3017 A7
3099 A8
4001 A1
5001 A1
6011 A2
6012 A3
6013 A1
6014 A4
6015 A3
6016 A5
6017 A6
6018 A8

Table of Contents

Related product manuals