EasyManua.ls Logo

Philips DVDR3545V/37 - Page 35

Philips DVDR3545V/37
127 pages
Print Icon
To Next Page IconTo Next Page
To Next Page IconTo Next Page
To Previous Page IconTo Previous Page
To Previous Page IconTo Previous Page
Loading...
1-12-5
E9H90BLVIS
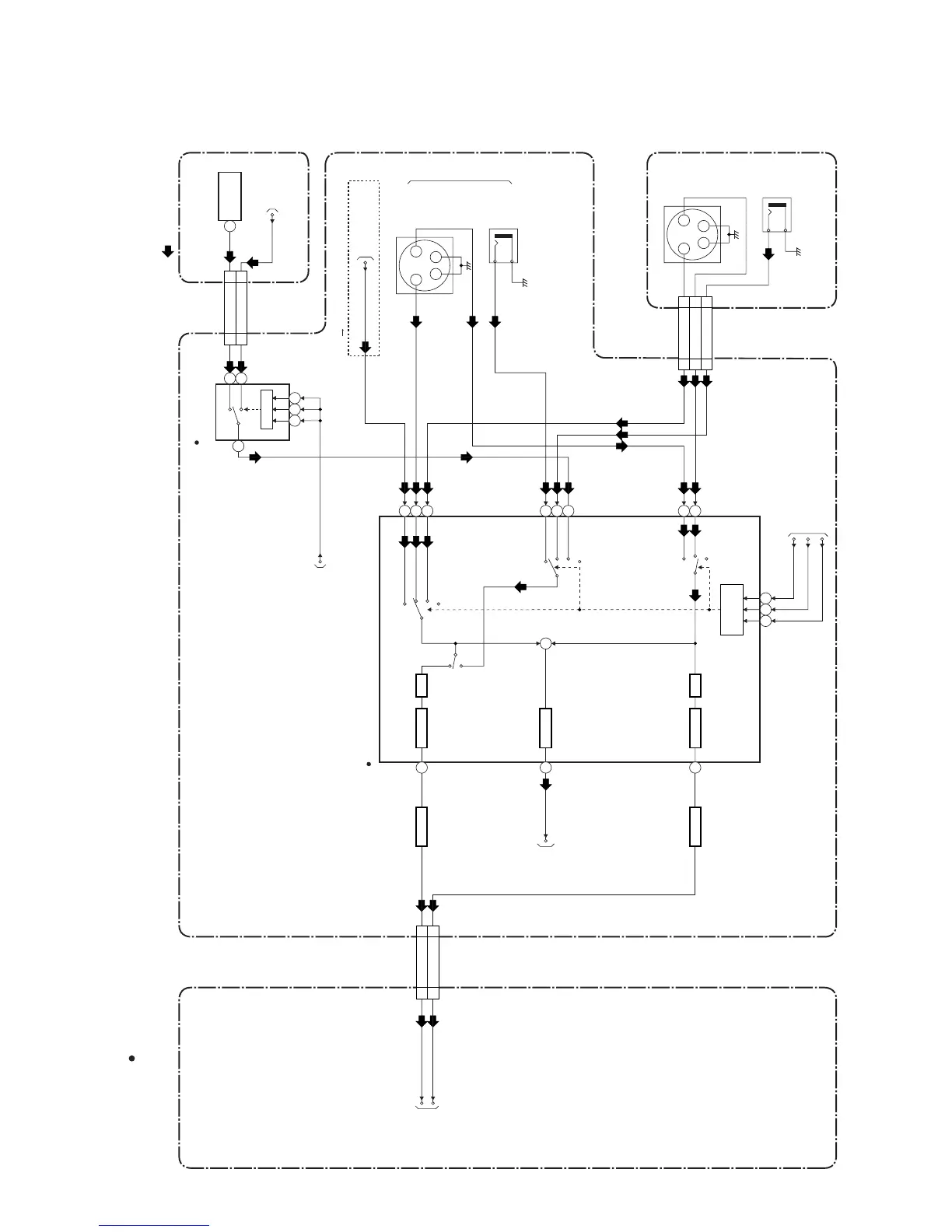
Video Input Select Block Diagram
TO DIGITAL
SIGNAL
PROCESS
BLOCK
DIAGRAM
REC VIDEO SIGNAL
MAIN CBA
22Y-IN2
11C-IN2
44VIDEO-IN2
(VIDEO INPUT SELECT)IC2805
JK2401
S-VIDEO
IN1
3 4
2
1
Y
Y1
VIDEO1
VIDEO2
TUNER
MUTE
MUTE
MUTE
Y2
C1
C2
C
VIDEO - IN1
REAR
JK2804
JK2806
S-VIDEO
IN2
3 4
2
1
Y
C
VIDEO-IN2
JK2803
13
17
19
15
8
10
2
12
21
4
CN2609 CN2605
22 23 24
VIDEO-SW2 TO SYSTEM CONTROL
BLOCK DIAGRAM
VIDEO-SW3
FRONT JACK CBA
CONTROL
LOGIC
PB/EE
BUFFER
BUFFER
BUFFER
LPF
LPF
DVD MAIN CBA UNIT
CN701
20 20
VIDEO-Y/CVBS-IN
22 22VIDEO-C-IN
CN2201
VCR-VIDEO
TO VIDEO
BLOCK
DIAGRAM
Q2304
BUFFER
Q2305
BUFFER
VCR-VIDEO(DUB)
TO VIDEO
BLOCK DIAGRAM
VIDEO-SW1
(VCR DVD DUBBING)
20
+
VIDEO-Y/CVBS
VIDEO-C
IC5002
(INPUT SELECT)
SW CTL
DTV-VIDEO
TO SYSTEM CONTROL
BLOCK DIAGRAM
15
109 11
DTV/ANALOG
VIDEO OUT
TU5001
(TUNER UNIT)
4
1
2
CN2610
ATU-VIDEO
99ATU-VIDEO
ATU-VIDEO
19 19DTV-VIDEO
CN5007
TO DTV
MODULE
BLOCK
DIAGRAM
TUNER CBA
“ “ = SMD

Other manuals for Philips DVDR3545V/37

Related product manuals