EasyManua.ls Logo

Philips PM2517E - Page 39

Philips PM2517E
104 pages
Print Icon
To Next Page IconTo Next Page
To Next Page IconTo Next Page
To Previous Page IconTo Previous Page
To Previous Page IconTo Previous Page
Loading...
l
l
l
l
l
l
l
l
l.
l
a
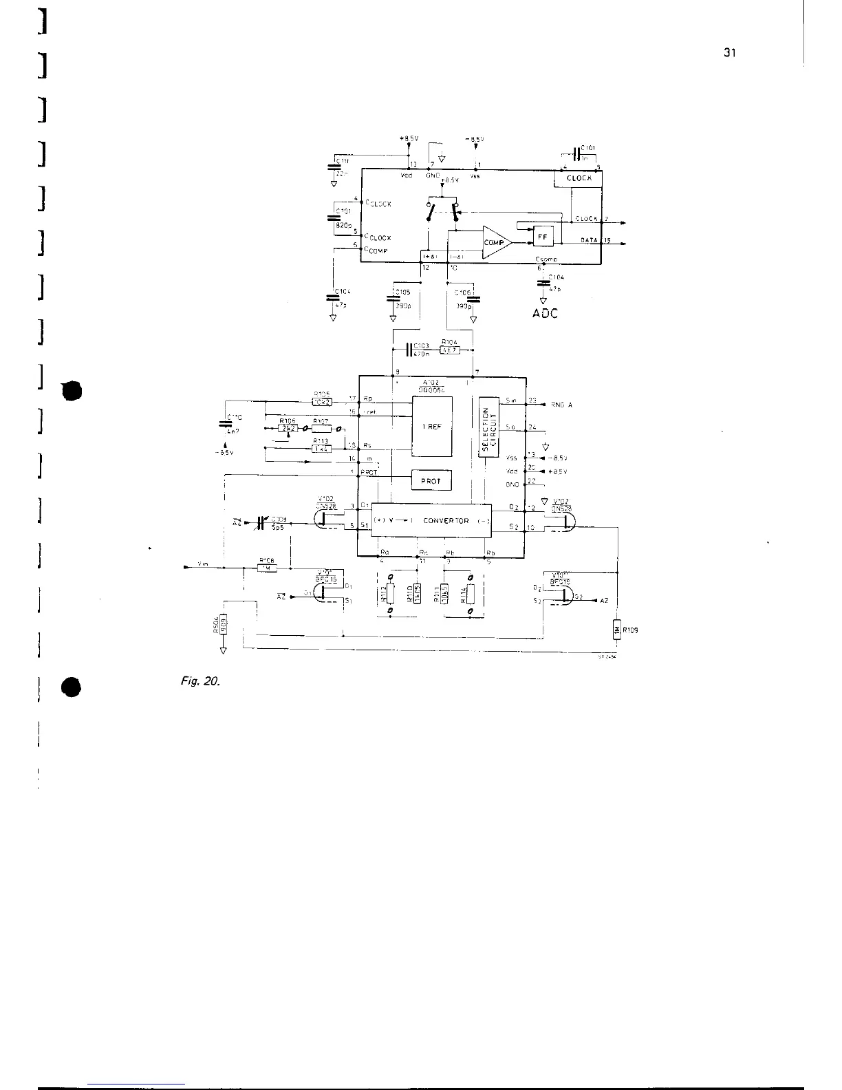
Fig.20.
JI
l+r V-
CONV€RTOR
r

Table of Contents

Related product manuals