EasyManua.ls Logo

Potterton Paramount two - Page 52

Potterton Paramount two
80 pages
Print Icon
To Next Page IconTo Next Page
To Next Page IconTo Next Page
To Previous Page IconTo Previous Page
To Previous Page IconTo Previous Page
Loading...
Programming
52 POTTERTON COMMERCIAL
120-393 632.4 04.08 Fh
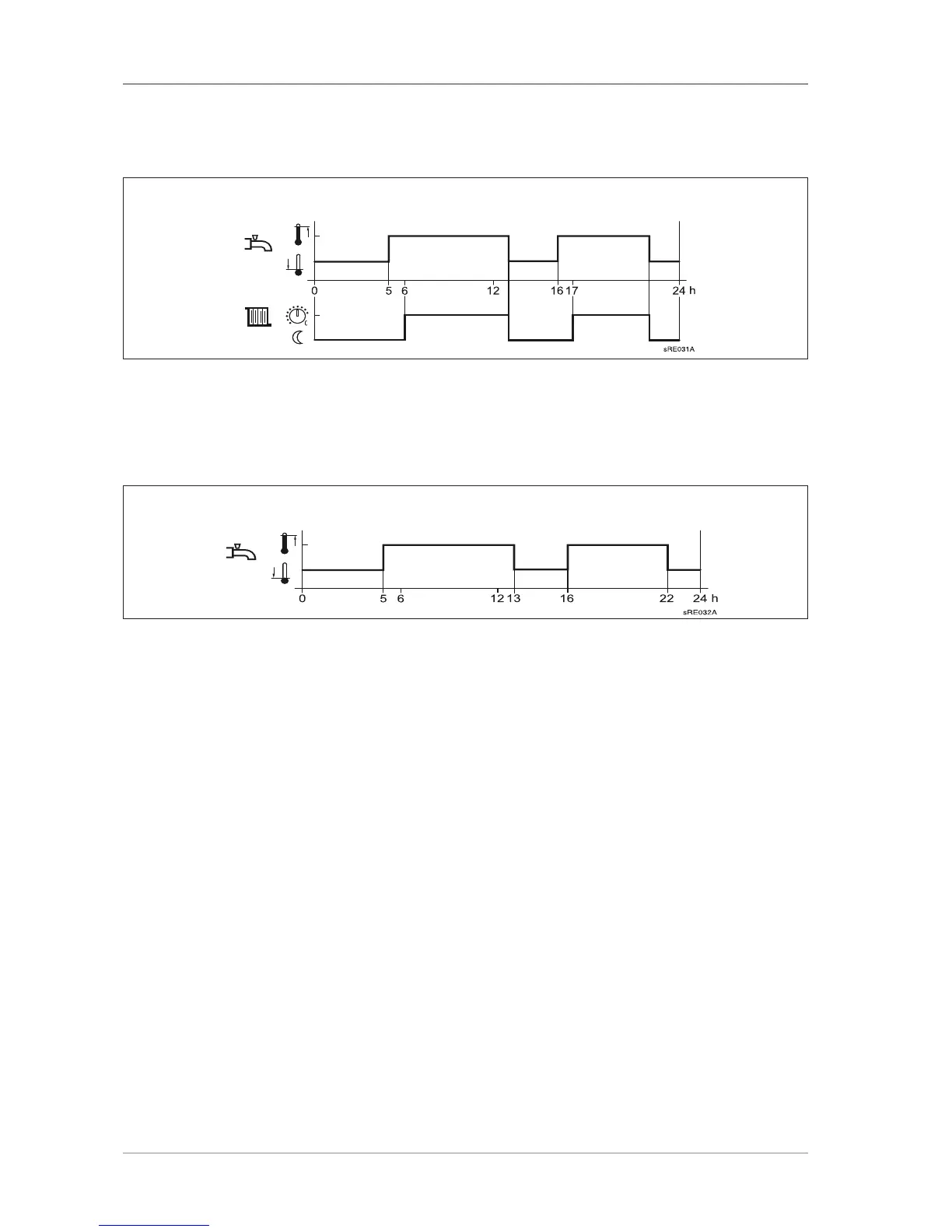
on the time switching programs. Every time, the switching-on time
will be moved forward by one hour (see fig. 14).
Time program 4/DHW: The DHW temperature will be switched
over between the nominal setpoint and the reduced setpoint inde-
pendent from the time switching programs of the heating circuits.
In this case, the time switching program 4 will be used (see fig.
15).
Legionella function
(1640)
Function to kill legionella germs by heating up to the set legionella
function setpoint (see prog. no. 1645).
Off: Legionella function is switched off.
Periodically: Legionella function is repeated periodically, depen-
ding on the set value (prog. no. 1641).
Fixed weekday: Legionella function will be activated on a certain
weekday (prog. no. 1642).
Legionella function
periodically
(1641)
Setting the interval for the legionella function periodically (re-
commended setting in case of additional DHW heating by solar sys-
tem).
Legionella function
weekday
(1642)
Selection of the weekday for the legionella function fixed weekday
(factory setting).
Legionella function time
(1644)
Setting the start time for the legionella function. The legionella
function will be carried out at the first release of the DHW prepa-
ration with the setting "---".
Legionella function set-
point
(1645)
Setpoint, at which potentially existing legionella germs will be
killed.
Legionella function
duration
(1646)
With this function, the time will be set, during which the legionella
function setpoint is activated to kill germs.
Fig. 14: Release depending on the time switching programmes of the heating circuits (example)
Fig. 15: Release according to time switching programme 4 (example)

Table of Contents

Related product manuals