EasyManua.ls Logo

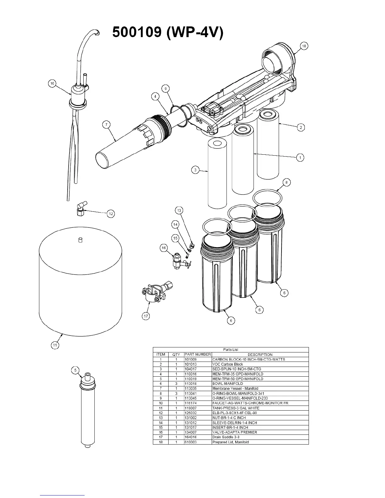
Premier WP-4V - Replacement Parts List

Premier WP-4V
28 pages
Print Icon
To Next Page IconTo Next Page
To Next Page IconTo Next Page
To Previous Page IconTo Previous Page
To Previous Page IconTo Previous Page
Loading...
Page 21
*Optional Upgrade

Related product manuals