EasyManua.ls Logo

Pyle PLR44MU - Wiring Connection

Pyle PLR44MU
14 pages
Print Icon
To Next Page IconTo Next Page
To Next Page IconTo Next Page
To Previous Page IconTo Previous Page
To Previous Page IconTo Previous Page
Loading...
7
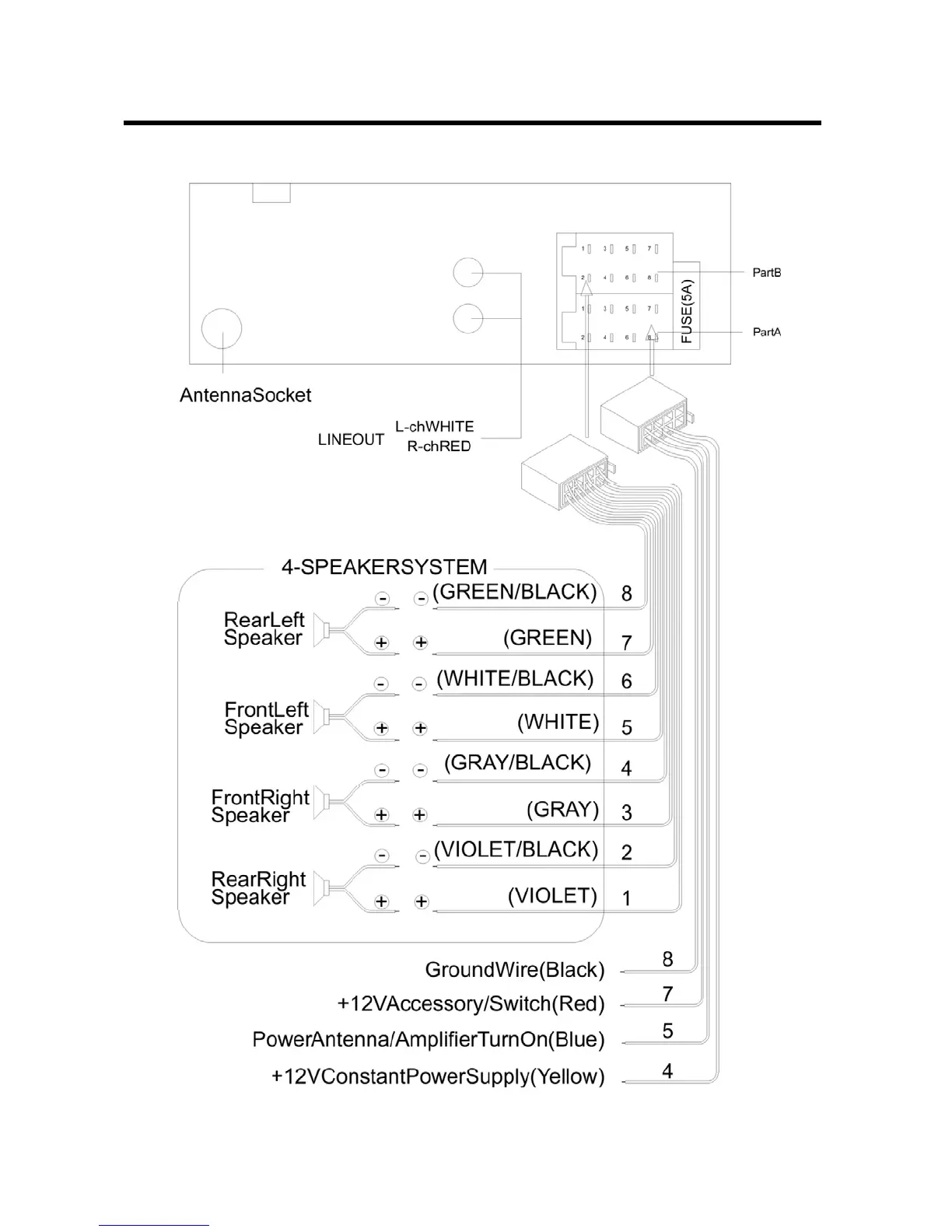
WIRING CONNECTION
ISO CONNECTION

Related product manuals