EasyManua.ls Logo

Rain Bird Pro - Page 21

Rain Bird Pro
80 pages
Print Icon
To Next Page IconTo Next Page
To Next Page IconTo Next Page
To Previous Page IconTo Previous Page
To Previous Page IconTo Previous Page
Loading...
Weather Station - Model “PRO
Model “PRO” - Weather Station
Page
11
Nov., 2001
GT27145B Cozz
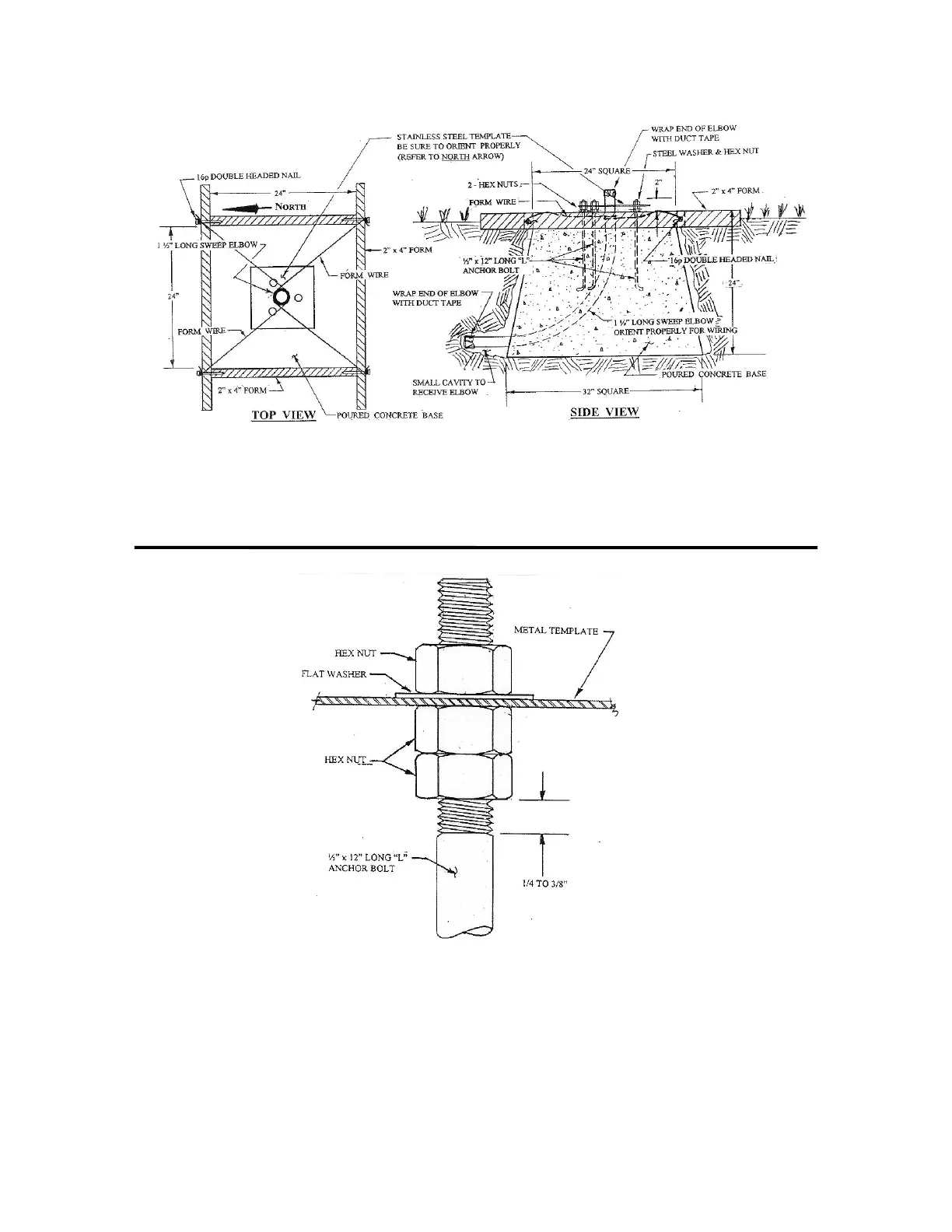
FIGURE 4 - CONCRETE BASE DETAIL
FIGURE 5 - ANCHOR BOLT/TEMPLATE DETAIL
5.0 EXTERNAL WIRING TO WEATHER STATION: ( Refer to FIGS. 6 & 7)

Table of Contents