EasyManua.ls Logo

Raychem TA - Menu Installateur

Raychem TA
180 pages
Print Icon
To Next Page IconTo Next Page
To Next Page IconTo Next Page
To Previous Page IconTo Previous Page
To Previous Page IconTo Previous Page
Loading...
68
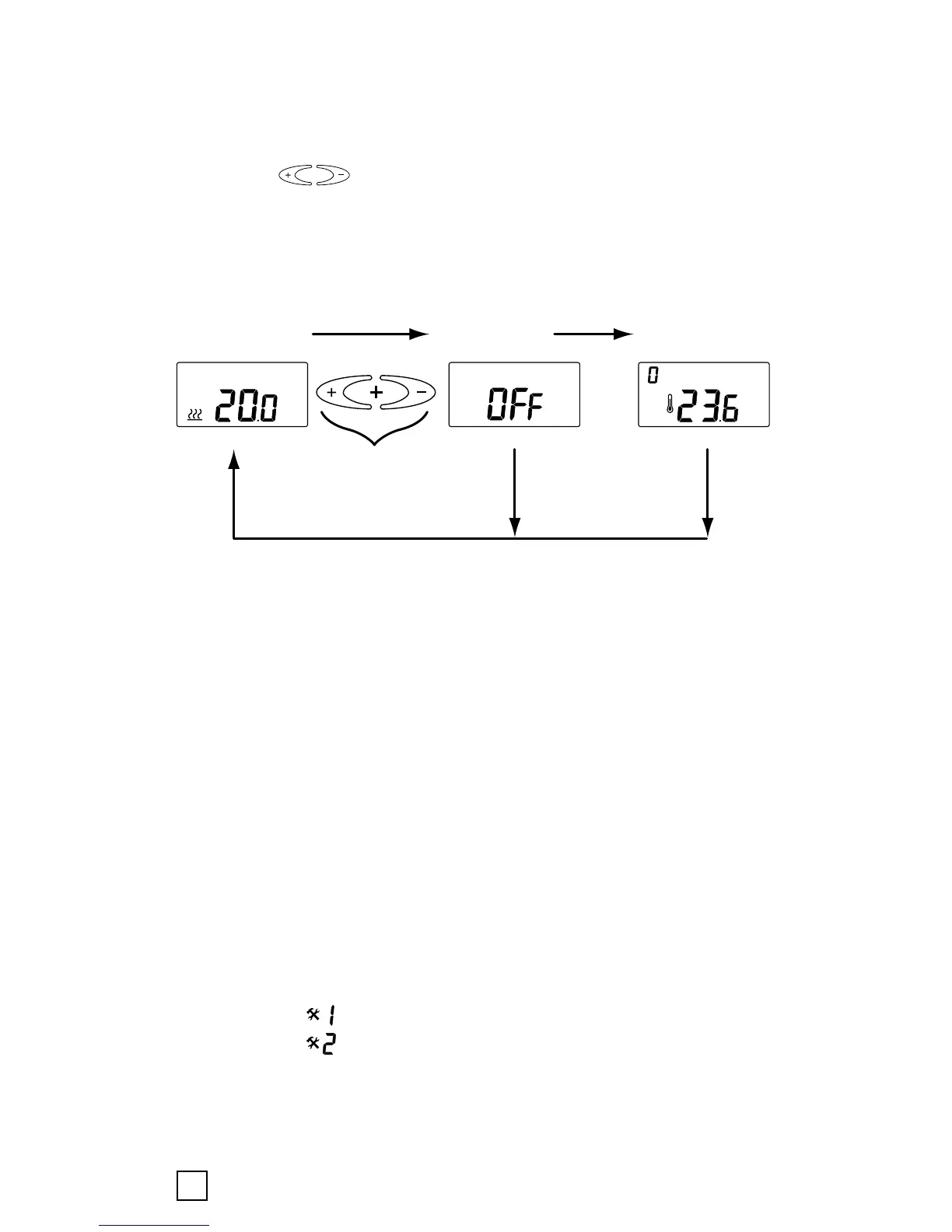
hoofdschakelaar volledig uitgeschakeld is). De thermostaat
functioneert tijdens de zomer, als hij in deze OFF-modus
geschakeld is, dus als een gewone thermometer.
Houd de < > toetsen tegelijk gedurende meer dan
1 seconde ingedrukt om de ‘OFF’-modus te activeren (of om
deze modus te verlaten).
Pas na het beëindigen van de initiële verwarmingsfunctie en
de leerfunctie kan de de OFF-modus geactiveerd worden.
Als een van deze functies actief is, kan de thermostaat de
vloerverwarming activeren, zelfs als de thermostaat in de
OFF-modus geschakeld is.
4.3 Menu installateur
Als de gewenste temperatuur niet bereikt wordt of als er een
verschil is tussen de werkelijke vloer-/kamertemperatuur
en de waarde op het display, moet de thermostaat geijkt
worden.
Houd de OK-toets 6 seconden lang ingedrukt om naar het
onderstaande menu te gaan:
Menu 1: < > aflezen werkelijk gemeten temperatuur
Menu 2: < > ijken van de vloer-/kamertemperatuur

Table of Contents

Related product manuals