EasyManua.ls Logo

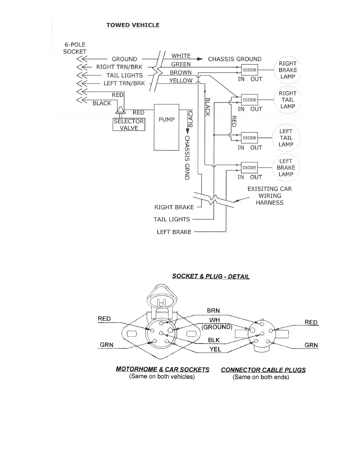
Remco LP-BK01 - Towed Vehicle Wiring Schematics; Towed Vehicle Electrical Schematic; Socket and Plug Connection Details

Default Icon
26 pages
Print Icon
To Next Page IconTo Next Page
To Next Page IconTo Next Page
To Previous Page IconTo Previous Page
To Previous Page IconTo Previous Page
Loading...
10

Related product manuals