EasyManua.ls Logo

Riello Gulliver - Elektrische Aansluitingen

Riello Gulliver
Print Icon
To Next Page IconTo Next Page
To Next Page IconTo Next Page
To Previous Page IconTo Previous Page
To Previous Page IconTo Previous Page
Loading...
1892
5
NL
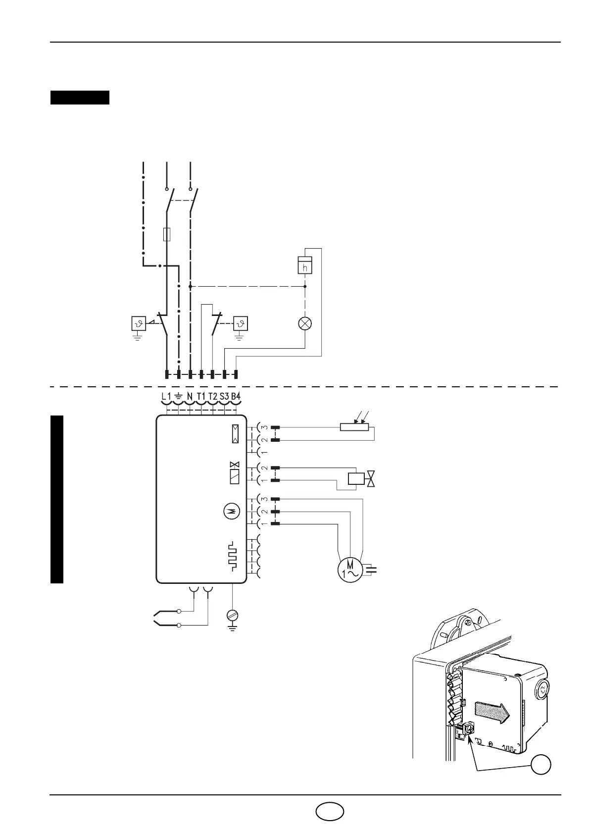
3.4 ELEKTRISCHE AANSLUITINGEN
D1913
NULLEIDER EN FASE NIET OMWISSELEN
OPGELET
NOOT:
Doorsnede geleiders 1 mm
2
.
De elektrische aansluitingen die de installateur uit-
voert dienen te voldoen aan de wetgeving terzake
in het betrokken land.
CONTROLEDOOS
Om de controledoos van de brander te verwijderen, draai schroef
(A, fig. 11) los nadat u alle componenten, de mannelijke 7-polige
stekker en de aarding ontkoppelde.
Bij hermontage, de schroef (A) opnieuw aandraaien met een
aandraaikoppel 1 ÷ 1,2 Nm.
CHECK-UP
Controleer de branderstop bij opening van de
thermostaten en de brandervergrendeling bij ver-
duistering van de fotocel.
Vrouwelijke
Zwart
Wit
Condensator
Hoofdschakelaar
T6A
Motor
Blauw
Olieklep
Urenteller
Uitwendige veiligheidssignalisatie
(230V - 0,5A max.)
Ontstekings-
Bruin
Aarding brander
UITGEVOERD IN DE FABRIEK
552SE
CONTROLEDOOS
Fotocel
PE L N
~ 50Hz 230V
Max. thermostaat
met manuele
herbewapening
(230V - 0,1A max.)
Regelthermostaat
Mannelijke
7-polige stekker
7-polige stekker
electroden
Blauw
Fig. 11
S7072
A

Related product manuals