EasyManua.ls Logo

Riello SENTINEL PRO - Page 7

Riello SENTINEL PRO
26 pages
Print Icon
To Next Page IconTo Next Page
To Next Page IconTo Next Page
To Previous Page IconTo Previous Page
To Previous Page IconTo Previous Page
Loading...
7
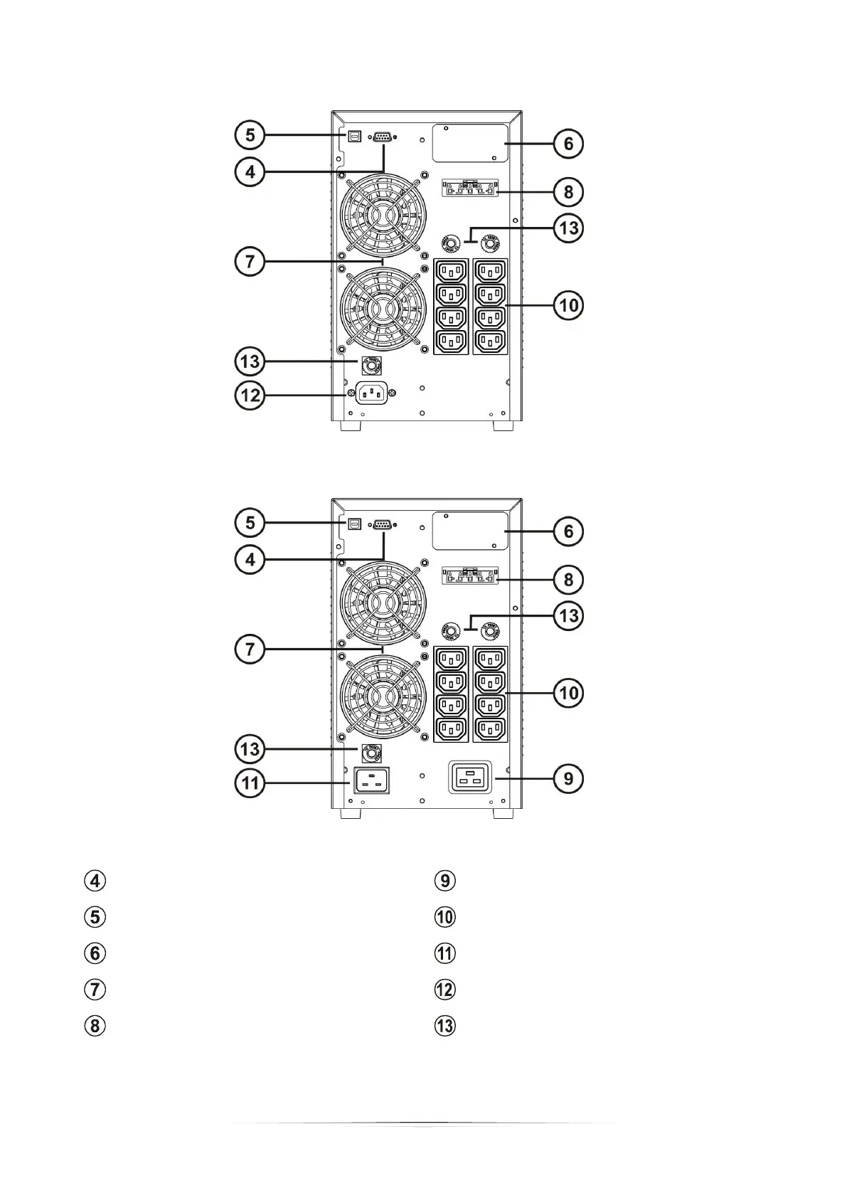
RS232 communication port and contacts
IEC 16A output socket (only for 3000VA models)
USB communication port
IEC 10A output socket
Slot for communication cards
IEC 16A input plug
Cooling fans
IEC 10A input plug
Battery expansion connector
Circuit breaker

Related product manuals