EasyManua.ls Logo

Ruhrpumpen CPP21 - Page 68

Default Icon
72 pages
Print Icon
To Next Page IconTo Next Page
To Next Page IconTo Next Page
To Previous Page IconTo Previous Page
To Previous Page IconTo Previous Page
Loading...
68 / 72
Horizontal End Suction Pump for Chemical Process, ASME B73.1-2001
Installation, Operation, and Maintenance Manual – CPP21
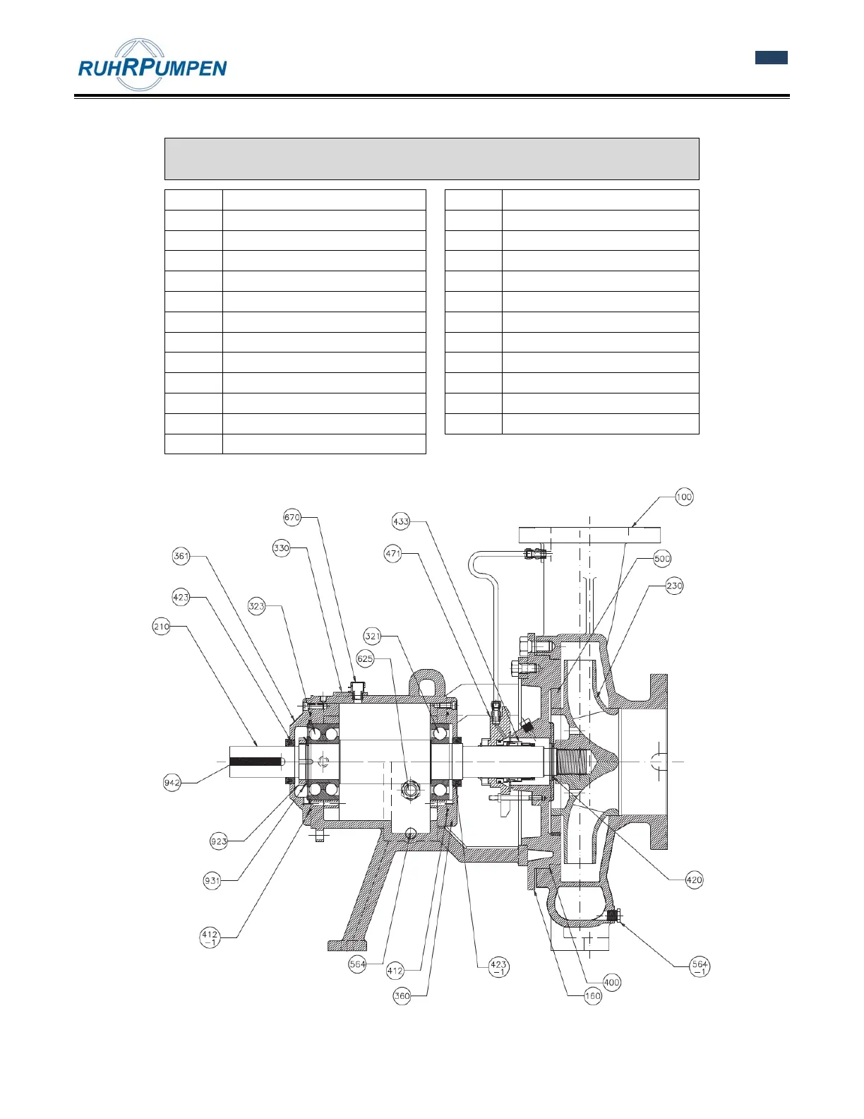
Bearing Frame: B-50
100 Case
423-1 Radial Labyrinth Seal
230 Impeller 423 Axial Labyrinth Seal
160 Case Cover 400 Case Gasket
471 Mechanical Seal Head 210 Shaft
330
Bearing Bracket
670
Breather
361 Axial Bearing Cover 564 Radiator Plug
360 Radial Bearing Cover 625 Oil Sight
412-1 Axial Cover O-Ring 923 Bearing Nut
412 Radial Cover O-Ring 564-1 Case Drain Plug
321
Ball Bearing
931
Bearing Washer
323 Angular Contact Ball Bearing 942 Key
420 Impeller O-Ring 500 Adapter Ring
433 Mechanical Seal