EasyManua.ls Logo

salmson MULTI-HE - Page 78

salmson MULTI-HE
Print Icon
To Next Page IconTo Next Page
To Next Page IconTo Next Page
To Previous Page IconTo Previous Page
To Previous Page IconTo Previous Page
Loading...
78
SALMSON 08/2016
Italiano
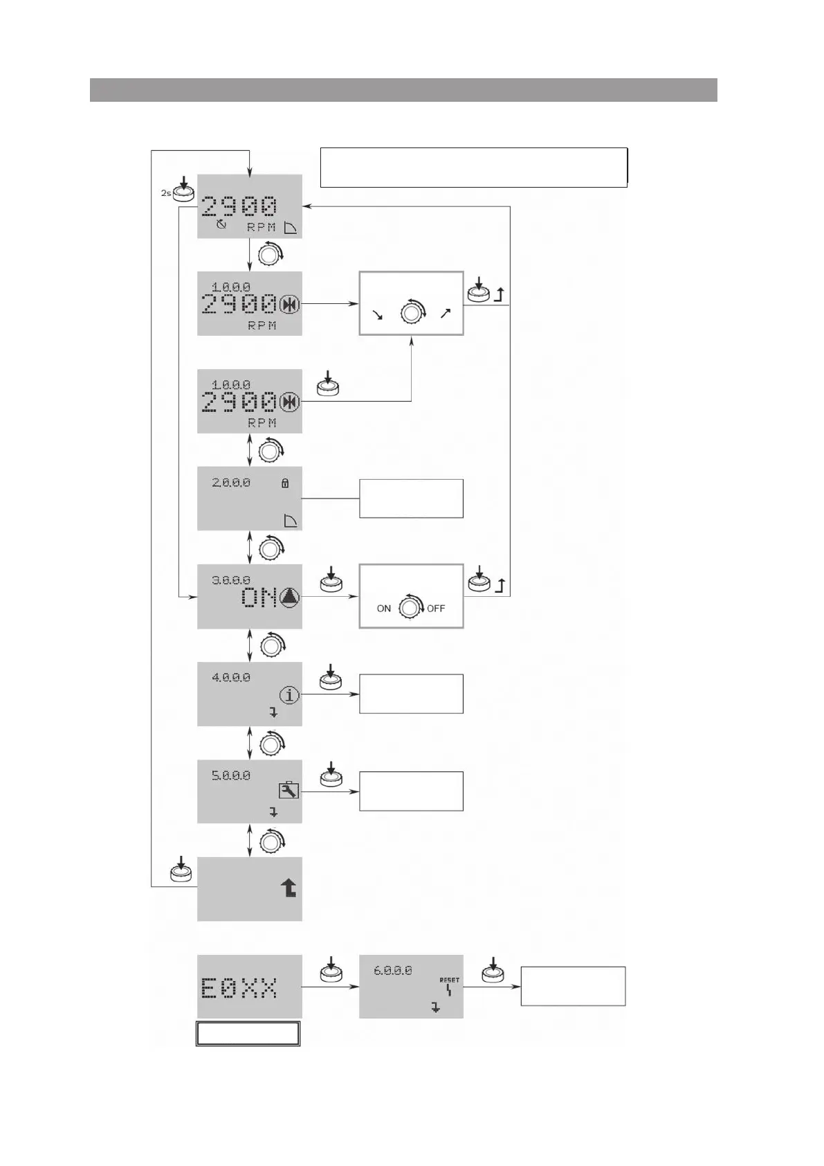
Fig. 11
Navigazione nel menu di base con funzionamento normale
(interruttore 1 = OFF in posizione “OPERATION”)
Impostazione del punto
Tipo di regolazione
Informazioni
SERVICE
Conferma di guasti
Inserimento/disin-
serimento pompa
Viene visualizzato,
se un errore è presente

Related product manuals