EasyManua.ls Logo

Sans Digital Towerraid TR4UT-B - Page 22

Sans Digital Towerraid TR4UT-B
50 pages
Print Icon
To Next Page IconTo Next Page
To Next Page IconTo Next Page
To Previous Page IconTo Previous Page
To Previous Page IconTo Previous Page
Loading...
22
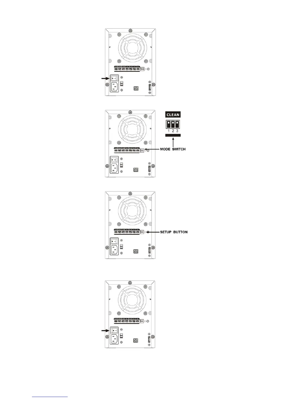
2. Set the MODE SWITCH position to CLEAN.
3. Press and hold the recessed SETUP BUTTON.
4. Turn on the power than release the SETUP BUTTON to complete mode setting.

Related product manuals