EasyManua.ls Logo

Sans Digital Towerraid TR4UT-B - RO MODE

Sans Digital Towerraid TR4UT-B
50 pages
Print Icon
To Next Page IconTo Next Page
To Next Page IconTo Next Page
To Previous Page IconTo Previous Page
To Previous Page IconTo Previous Page
Loading...
27
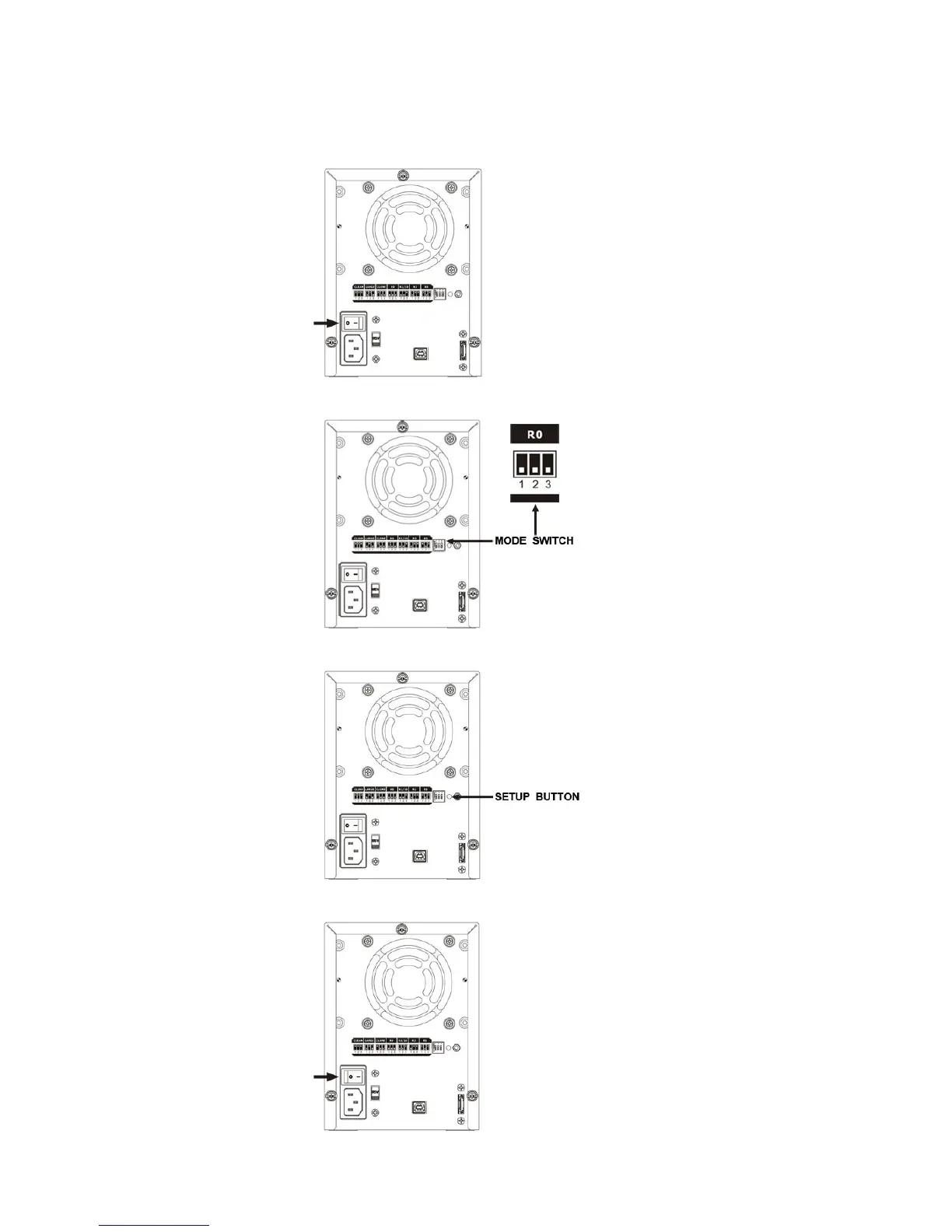
4.6.5 R0 MODE
The R0 MODE storage policy requires a minimum of 2 drives to implement.
1. Turn off the power.
2. Set the MODE SWITCH position to R0.
3. Press and hold the recessed SETUP BUTTON.
4. Turn on the power than release the SETUP BUTTON to complete mode setting.

Related product manuals