EasyManua.ls Logo

Sans Digital Towerraid TR4UT-B - R5 MODE WITH HOT SPARE

Sans Digital Towerraid TR4UT-B
50 pages
Print Icon
To Next Page IconTo Next Page
To Next Page IconTo Next Page
To Previous Page IconTo Previous Page
To Previous Page IconTo Previous Page
Loading...
35
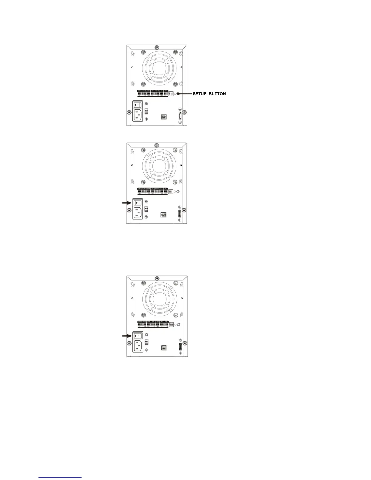
3. Press and hold the recessed SETUP BUTTON.
4. Turn on the power than release the SETUP BUTTON to complete mode setting.
4.6.12 R5 MODE WITH HOT SPARE
The R5 MODE storage policy with hotspare drive requires a minimum of 4 drives to implement.
1. Turn off the power.

Related product manuals