EasyManua.ls Logo

Sans Digital Towerraid TR4UT-B - Page 33

Sans Digital Towerraid TR4UT-B
50 pages
Print Icon
To Next Page IconTo Next Page
To Next Page IconTo Next Page
To Previous Page IconTo Previous Page
To Previous Page IconTo Previous Page
Loading...
33
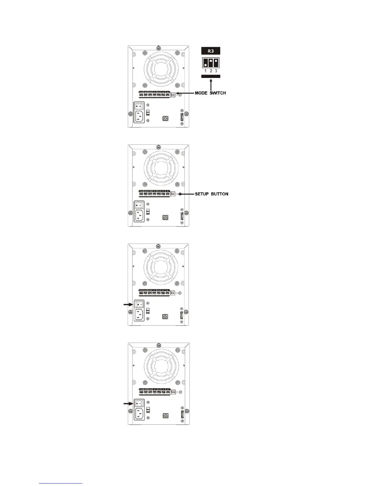
3. Set the MODE SWITCH position to R3.
4. Press and hold the recessed SETUP BUTTON.
5. Turn on the power than release the SETUP BUTTON.
6. Turn off the power.
7. Insert the hotspare drive into the 4
th
HDD bay.

Related product manuals