EasyManua.ls Logo

Schwing ROCK - Rock Valve with Insert - Conversion

Default Icon
42 pages
Print Icon
To Previous Page IconTo Previous Page
To Previous Page IconTo Previous Page
Loading...
SERVICE TRAINING
Service Manual
38
Rock Valve
Rock Valve with Insert - Conversion
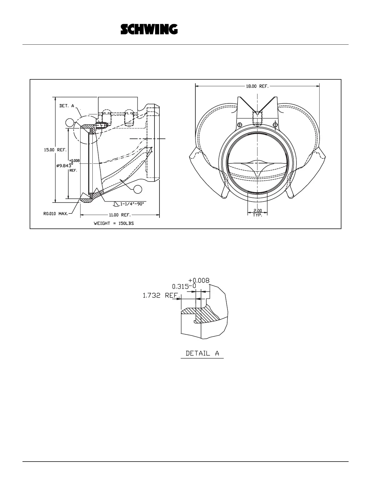
Procedure for converting older Rock Valves to accept removable pressure spring insert.
1. Weld per SAIE 5125 using E7108 and preheat to 200˚F complete 360˚ of weld circle.
2. Addition of the insert requires a depth of 2.047. So if the Rock Valve has the standard depth 1.732 then it must be
machined to 2.047 at the same 9.843 Dia.
3. To machine Rock Valve for insert use P/N 30348121 (Machine 0.315 deeper as shown in detail A).
1
2

Related product manuals