EasyManua.ls Logo

SDMO R570U - Battery Setting into Service; Check

SDMO R570U
299 pages
Print Icon
To Next Page IconTo Next Page
To Next Page IconTo Next Page
To Previous Page IconTo Previous Page
To Previous Page IconTo Previous Page
Loading...
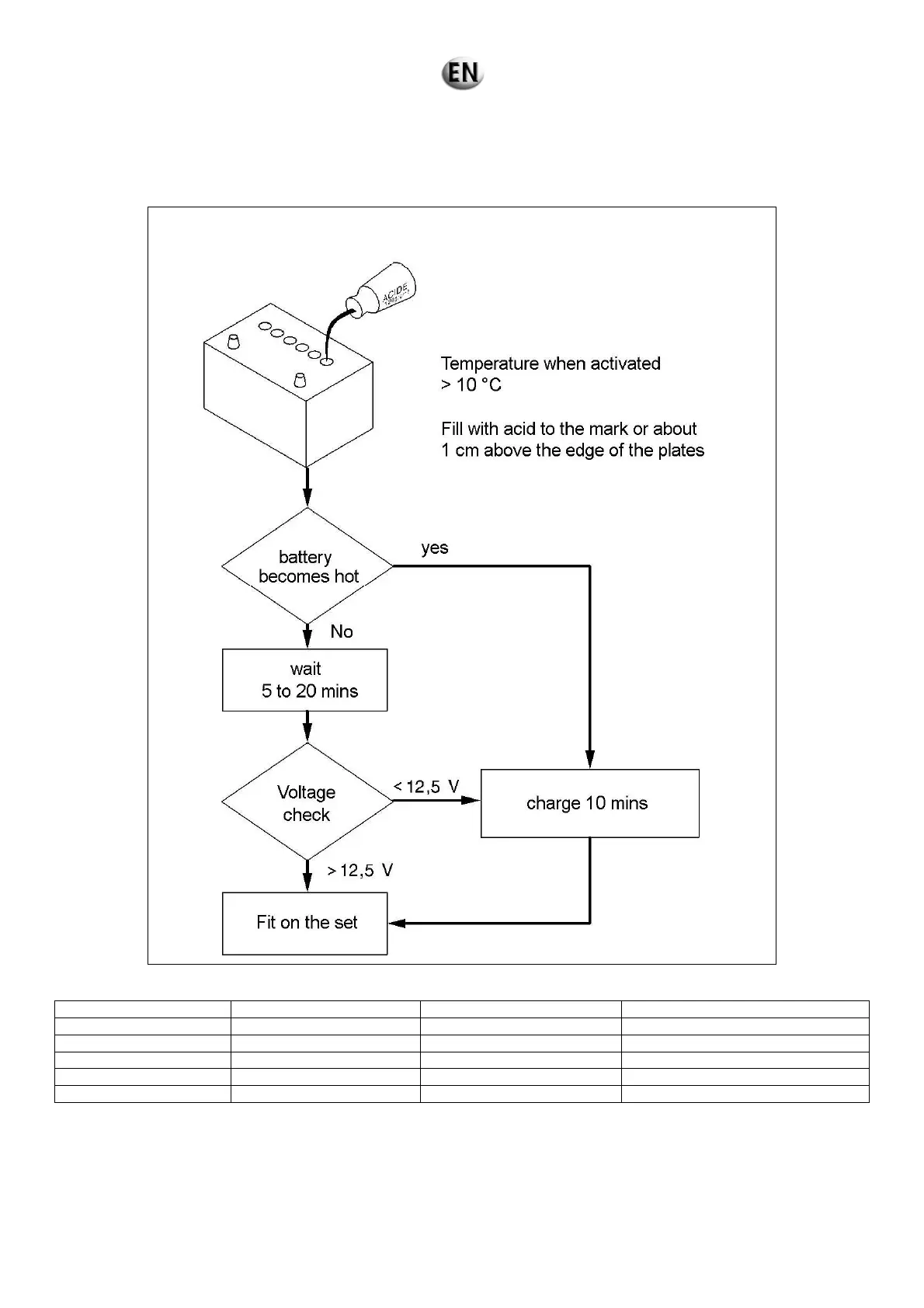
8.2. Battery setting into service
Batteries filled with acid have a density of 1.28 g/ml and are charged.
In the case of dry batteries, fill each battery cell with acid up to the maximum level mark or to 15 mm above the plates. Let the
battery rest for 20 minutes.
Before fitting the battery, stop the engine and any power consumer, clean the terminals and give them a light coating of grease.
When connecting, connect the positive terminal (+) first, and then the negative terminal (-).
8.3. Check
Acid density Charge status
V
oltage when idle
1.27 100% Above 12.60 V
1.25 80% 12.54 V
1.20 60% 12.36 V
From 50 % recharge
1.19 40% 12.18 V
Risk of sulphation
1.13 20% Under 11.88 V
Unusable
120/297

Table of Contents

Related product manuals