EasyManua.ls Logo

Seca 264 - 5.2 Additional functions (menu)

Seca 264
Print Icon
To Next Page IconTo Next Page
To Next Page IconTo Next Page
To Previous Page IconTo Previous Page
To Previous Page IconTo Previous Page
Loading...
Bedienung des Kopfschiebers • 23
Deutsch
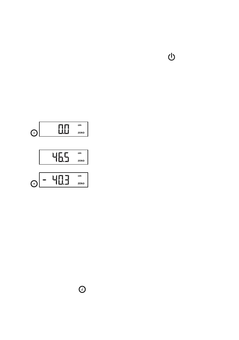
Relativmessungen
durchführen (Zero)
Das Display des Kopfschiebers kann an jeder
beliebigen Position auf Null gesetzt werden. Diese
Funktion ermöglicht Relativmessungen zum Beispiel für
die Extremitätenvermessung.
1. Drücken Sie die Start-Taste des Kopf-
schiebers.
Im Display erscheint „----“.
2. Halten Sie den Bremstaster gedrückt und bewegen
Sie den Kopfschieber, bis ein Längenwert im Dis-
play angezeigt wird.
3. Positionieren Sie den Kopfschieber an der Stelle, an
der Sie das Display des Kopfschiebers auf Null set-
zen möchten.
4. Halten Sie die Pfeil-Taste (hold/zero) gedrückt, bis
die Meldung „ZERO“ angezeigt wird.
Das Display wird an der aktuellen Position des
Kopfschiebers auf Null gesetzt.
5. Positionieren Sie den Kopfschieber neu.
Die Länge wird relativ zu gesetzen Nullpunkt
gemessen.
Wird der Nullpunkt unterschritten, werden die
Messwerte mit negativem Vorzeichen dargestellt.
6. Um die „ZERO“-Funktion zu deaktivieren, halten Sie
die Pfeil-Taste (hold/zero) gedrückt, bis die
Meldung „ZERO“ nicht mehr angezeigt wird.
HINWEIS:
Wenn Sie Ergebnisse von Relativmessungen zu
Dokumentationszwecken an Geräte senden,
die automatisch BMI oder BFR berechnen,
ergeben sich für diese zwei Parameter keine
plausiblen Werte.
Messergebnisse an
Funkempfänger senden
Wenn der Kopfschieber in ein Funknetzwerk integriert
ist, können Sie die Messergebnisse per Tastendruck an
empfangsbereite Geräte (Waage mit BMI-Funktion,
Funkdrucker, PC mit USB Funkmodul) senden.
Drücken Sie die Enter-Taste (send/print).
–Kurzer Tastendruck: Messergebnisse an alle
empfangsbereiten Geräte senden
Langer Tastendruck: Messergebnisse
drucken

Table of Contents

Other manuals for Seca 264

Related product manuals