EasyManua.ls Logo

Serfas E DASH PLUS 500W - Display Overview

Serfas E DASH PLUS 500W
31 pages
Print Icon
To Next Page IconTo Next Page
To Next Page IconTo Next Page
To Previous Page IconTo Previous Page
To Previous Page IconTo Previous Page
Loading...
WHAT’S ON THE DISPLAY
IMPORTANT NOTICE
SERFAS E-BIKE
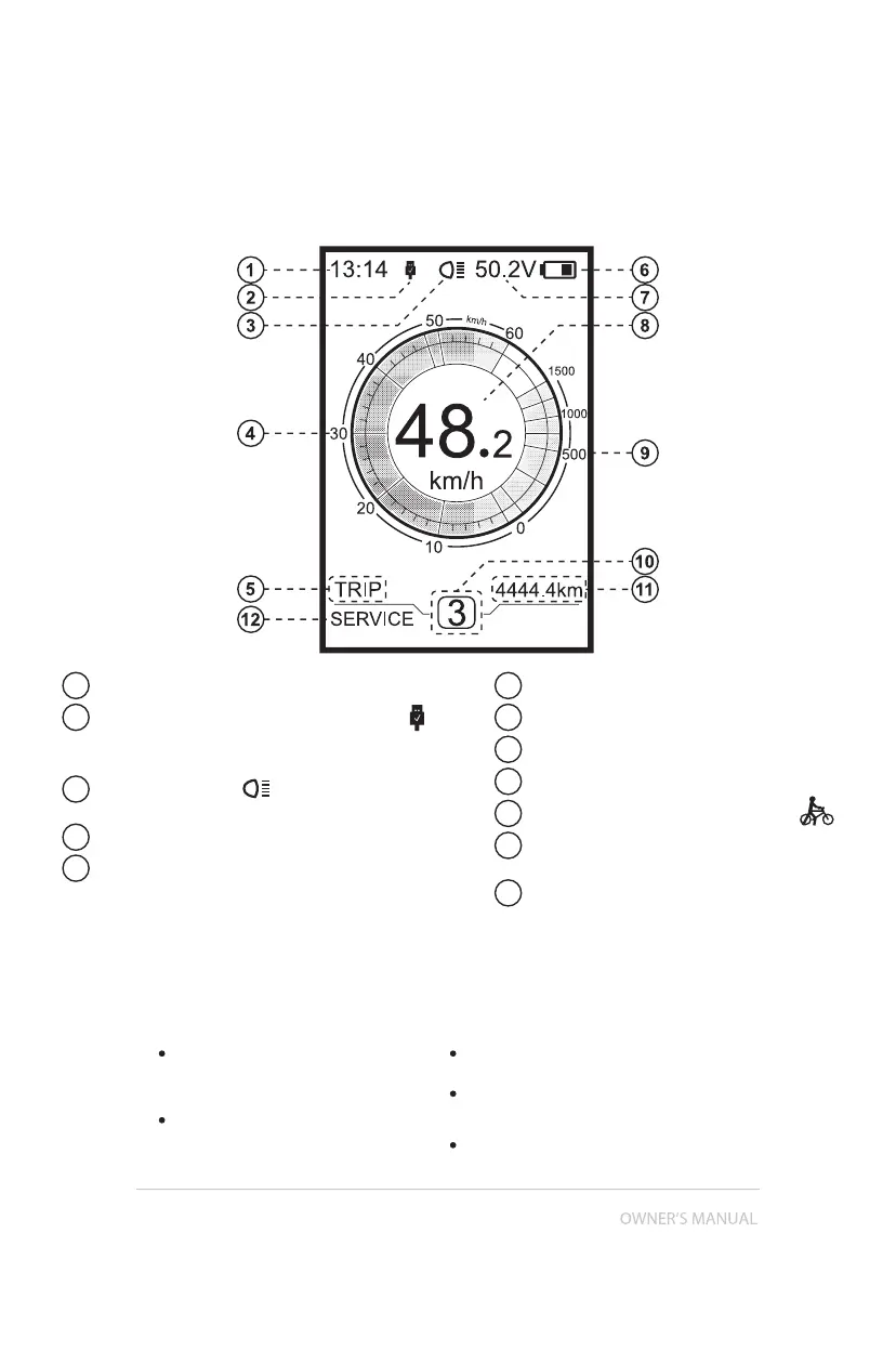
Time
1
USB charging indicator displays the icon
if an external USB device is connected to
the display.
2
3
4
The display shows this symbol, if the
light is on.
5
Speed Graphics
Trip: Daily Kilometers (TRIP) - Total Kilometers
(ODO) - Top Speed (MAX) - Avg. Speed
(AVG) - Range (RANGE) - Energy Cons-
umption (CALORIES(only w/ torque
sensor fitted)) - Travel Time (TIME)
Real time battery capacity.
Voltage indicator in Voltage or %
6
7
Digital Speed Display
8
Power indicator in Watts / Amperes
9
Support Level / Walking Assistance
10
Data: Display data, which corresponds
to the current mode.
11
Service: Please see the service section
12
If the error information from the display
cannot be corrected according to the
instructions, please contact your reseller.
Do not clean the display with a stream jet,
high-pressure cleaner, or water hose.
Do not use thinners or other solvents to clean
the display. Such substances can damage the
surfaces.
Warranty is not included due to wear and normal
use and aging.
The product is designed to be waterproof,
it is highly recommended to avoid submerging
the display under water.
6