EasyManua.ls Logo

Sharp DV-RW550U - Block Diagrams

Sharp DV-RW550U
147 pages
Print Icon
To Next Page IconTo Next Page
To Next Page IconTo Next Page
To Previous Page IconTo Previous Page
To Previous Page IconTo Previous Page
Loading...
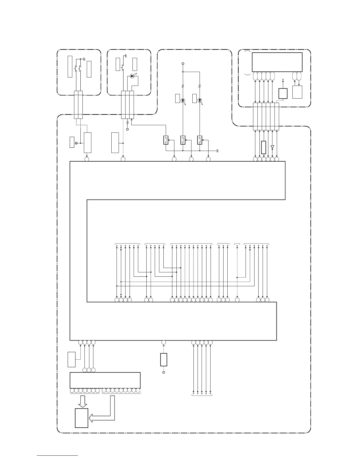
BLOCK DIAGRAMS
System Control Block Diagram
E9656BLS
NOTE: CBA AND PWB MEANS PRINTED WIRING BOARD.
1-13-1
86
KEY- 2
KEY- 1
S-DATA-OUT
SYS-RESET
S-DATA-IN
S-CLK
READY/BUSY
POWER
CN2212
CN2211
D571
POWER
SW601
KEY SWITCH
(VCR)
KEY SWITCH
(DVD)
TP502
S-INH
44
POWER-SW
11
AL+5V
22
POWER-LED
POWER SW CBA
FUNCTION CBA
CN2210
CN2209
OPEN/CLOSE
SW615
DUBBING
SW617
30
SYS-RESET
28
RDY
27
SUB-TXD
29
SUB-RXD
25
SUB-SCLK
30
28
27
29
25
CN201
Q510
Q509
X802
CN601
BUFFER
27MH
Z
X'TAL
SYS-RESET
RDY
SUB-TXD
SUB-RXD
SUB-SCLK
CLK27 OUT
CLK27 IN
IC601
MAIN MICRO
CONTROLLER
11
OPEN/CLOSE-SW
22
DUBBING-SW
85
AL+5V
RF-SW
D-V SYNC
C-SYNC-IN
V-ENV
DISPLAY-ENA
RESET
C-ROTA
D-REC
D-REC
VCR-AUDIO-MUTE
AUDIO-MUTE
AUDIO-MUTE-H
RF-SW
D-V SYNC
C-SYNC
V-ENV
C-ROTA
IC501
(SYSTEM CONTROL)
IC571
(FIP DRIVER)
6
25
23
98
83
24
50
29
31
Q501
RESET
TIMER+5V
P-ON-L
27
91
89
H-A-SW
99
H-A-SW
H-A-COMP
100
H-A-COMP
55
OUTPUT-SELECT
YCA-SCL
YCA-SDA
YCA-CS
YCA-SCL
19
YCA-SDA
20
YCA-CS
21
YCA-SCL
YCA-SDA
YCA-CS
TO VIDEO
BLOCK DIAGRAM
TO VIDEO OUTPUT SELECT
BLOCK DIAGRAM
TO VIDEO INPUT SELECT
BLOCK DIAGRAM
TO AUDIO INPUT/OUTPUT
SELECT BLOCK DIAGRAM
TO AUDIO
BLOCK DIAGRAM
TO Hi-Fi AUDIO
BLOCK
DIAGRAM
TO POWER SUPPLY
BLOCK DIAGRAM
IIC-BUS SDA
IIC-BUS SCL
17
18
IIC-BUS SCL
IIC-BUS SDA
NORMAL-L
D-REC-H
78
Hi-Fi-H-SW
Hi-Fi/NOR-IN
Hi-Fi-H-SW
30
OUTPUT-SELECT
OUTPUT-SELECT
DISPLAY-DATA
7
DISPLAY-CLK
CLK
1G
2G
4G
5G
6G
7G
a
b
c
d
e
f
h
i
g
3G
GRID
SEGMENT
FIP
STB
DIN
8
REMOCON-IN
5
REMOTE
SENSOR
RS501
FIP501
2
28
1
21
22
23
18
17
19
20
9
8
7
12
13
14
16
11
10
IIC-BUS SCL
IIC-BUS SDA
56
DVD-AUDIO-MUTE
DVD-AUDIO-MUTE
59
VIDEO-SW1
VIDEO-SW2
57
VIDEO-SW3
58
VIDEO-SW1
VIDEO-SW2
VIDEO-SW3
FAN-CONT1
FAN-LOCK
P-ON-L
FAN-CONT1
FAN-LOCK
DVD MAIN CBA UNIT
95
94
77
DVD-LED
D562 DVD
D563 VCR
Q563
Q562
VCR-LED
POWER-LED
Q561
AL+5V
A2
Y2
V7
H2
U8
M1
N1
13
10
12
11
2
MAIN CBA
1
P-DOWN-H
P-DOWN-H
46
REG-CONT
REG-CONT
61
AUDIO-SW1
AUDIO-SW1
60
AUDIO-SW2
AUDIO-SW2
REG-CONT2
26
REG-CONT2
26
15
REG+1.5V
IC501
+1.5V
REG

Other manuals for Sharp DV-RW550U

Related product manuals