EasyManua.ls Logo

Sharp EL-9900 - Page 79

Sharp EL-9900
284 pages
Print Icon
To Next Page IconTo Next Page
To Next Page IconTo Next Page
To Previous Page IconTo Previous Page
To Previous Page IconTo Previous Page
Loading...
69
Chapter 5: Advanced Calculations — Advanced Keyboard
The following math functions can be accessed with the use of @ key. To learn the
basic steps of how to access the second function of each key, refer to the section
“Second Function Key” of Chapter 2.
s Enters an arcsine function to be used in a trigonometric expres-
sion.
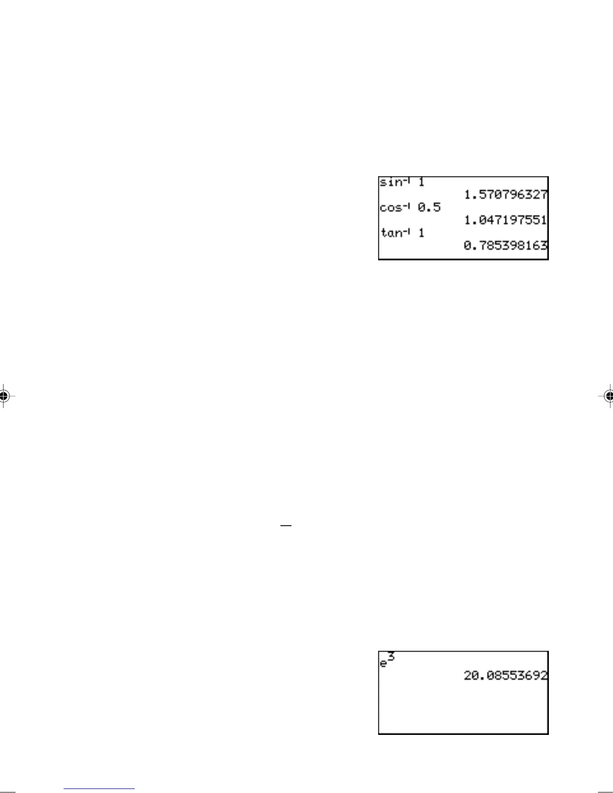
Example
Calculate arcsine 1.
@ s 1 E.
c Enters an arccosine function to
be used in a trigonometric
expression.
Example
Calculate arccosine 0.5.
@ c 0.5 E.
t Enters an arctangent function to be used in a trigonometric
expression.
Example
Calculate arctangent 1.
@ t 1 E.
Note: Expressions with inverse trigonometric functions evaluate in the
following ranges.
θ
= sin
-1
x,
θ
= tan
-1
x
θ
= cos
-1
x
Deg: 0 |
θ
| 90 Deg: 0 |
θ
| 180
Rad: 0 |
θ
|
π
2
Rad: 0 |
θ
| π
Grad: 0 |
θ
| 100 Grad: 0 |
θ
| 200
0 Raises 10 to the power of x.
@ Enters the Euler Number
e (2.71…) to a power. The cursor will
then be placed at the exponent.
Example
Obtain a value of e
3
.
@ @ 3 E.

Table of Contents

Other manuals for Sharp EL-9900

Related product manuals