EasyManua.ls Logo

Sharp ER-A160 - 1 Programming the VAT;tax rate; 2 Programming for departments

Sharp ER-A160
180 pages
Print Icon
To Next Page IconTo Next Page
To Next Page IconTo Next Page
To Previous Page IconTo Previous Page
To Previous Page IconTo Previous Page
Loading...
PROGRAMMING
This chapter illustrates how to program your cash register. Program every item
necessary for your store by following the appropriate procedure.
On the key operation examples, numeric such as 1234 indicates the number or parameter which
must be entered using the corresponding numeric keys.
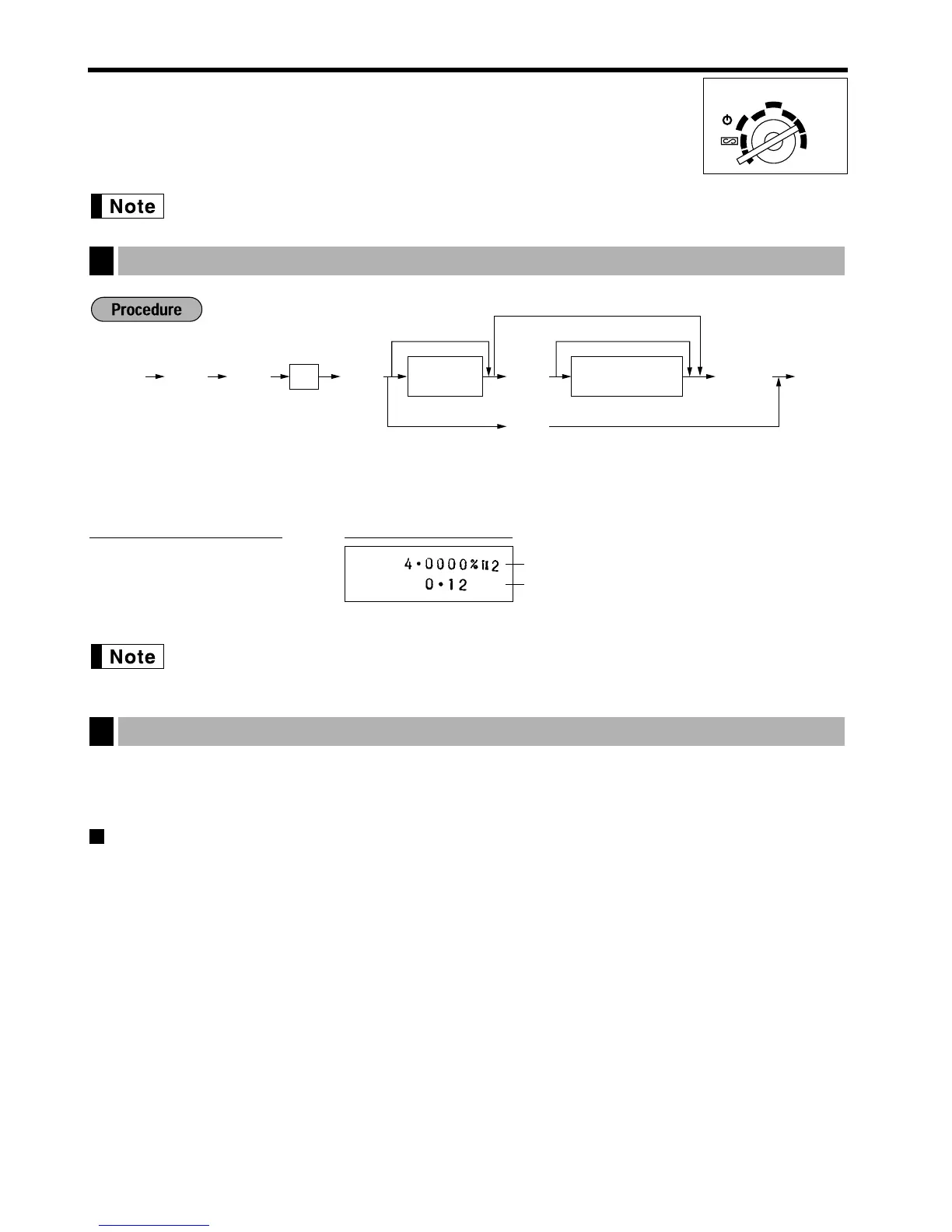
*1: VAT/tax rate number (1-3)
*2: Sign and VAT/tax rate: XYYY.YYYY (X:Sign -/+ = 1/0, YYY.YYYY:VAT/tax rate = 000.0001 to 100.0000)
*3: Max. five digits: 0 to 99999
In VAT system, the sign and the lowest taxable amount are ignored. They are valid only when you
select add on tax system.
Your machine is equipped with 5 (ER-A160) or 10 (ER-A180) standard departments. You can increase the
number of departments up to 15 (ER-A160) or 30 (ER-A180).
Functional programming
Sign
Assign plus department for normal sales, or minus department for minus transaction.
Tax status
Assign a tax status to each department. When entries are made into taxable departments in a
transaction, tax is automatically computed according to the associated tax rate as soon as the
transaction is completed.
SICS (Single Item Cash Sale)
If the first registration is to a department set for SICS, the sale is finalized as soon as the department
key is pressed.
Entry digit limits
Set the number of allowable digits for the maximum entry amount for each department. The limit is
effective for operations in the REG mode and can be overridden in the MGR mode.
Programming for departments
2
VAT/tax rate
Lowest taxable amount
Ñ
9
2
4
12
ÑÉ
PrintKey operation example
Programming the VAT/tax rate
1
24
Ñ
*
1
A
?
1-3
*
2
Sign and
VAT/tax rate
*
3
Lowest taxable
amount
Ñ É
To program "0"
To inhibit this VAT/tax rate
To program "0"
For VAT rate
9
REG
OPX/Z MGR
PGM
X1/Z1
X2/Z2

Table of Contents

Related product manuals