EasyManua.ls Logo

Sharp ER-A520 - Print Head Cleaning Procedure

Sharp ER-A520
275 pages
Print Icon
To Next Page IconTo Next Page
To Next Page IconTo Next Page
To Previous Page IconTo Previous Page
To Previous Page IconTo Previous Page
Loading...
Credit Card Authorization
Specifications subject to change without notice: Revision date 10/07 Page 215 of 266
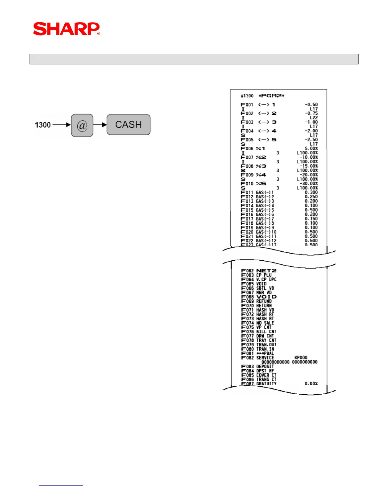
Media Key Programming Readout
To obtain the media key presets reading, please follow the below procedure:
1) Place the Mode key in the PGM2-Mode.
2) Enter the following sequence.

Other manuals for Sharp ER-A520

Related product manuals