EasyManua.ls Logo

Sharp ER-A570 - Plu Tax Status Programming (Range); Commission Group Programming (RANGE); Group Programming (RANGE); Print Station Programming (Range)

Sharp ER-A570
54 pages
Print Icon
To Next Page IconTo Next Page
To Next Page IconTo Next Page
To Previous Page IconTo Previous Page
To Previous Page IconTo Previous Page
Loading...
[JOB#2232]
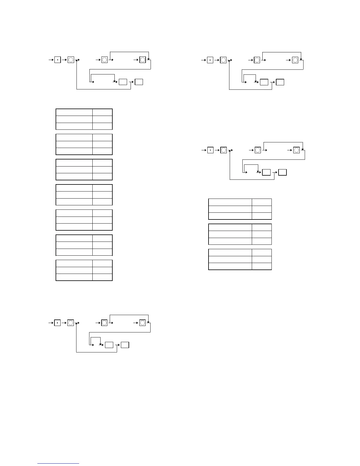
PLU TAX STATUS PROGRAMMING (RANGE)
XXXXXX: Start PLU code = 1 999999
YYYYYY: End PLU code = 1 999999
A: Sign A
+ 0
–1
B: Taxable 6 B
Non taxable 0
Taxable 1
C: Taxable 5 C
Non taxable 0
Taxable 1
D: Taxable 4 D
Non taxable 0
Taxable 1
E: Taxable 3 E
Non taxable 0
Taxable 1
F: Taxable 2 F
Non taxable 0
Taxable 1
G: Taxable 1 G
Non taxable 0
Taxable 1
[JOB#2235]
Commission group programming (RANGE)
XXXXXX: Start PLU code = 1~999999
YYYYYY: End PLU code = 1~999999
A: Group No. = 0~3
[JOB#2236]
Group programming (RANGE)
XXXXXX: Start PLU code = 1~999999
YYYYYY: End PLU code = 1~999999
A: Group No. = 0~99
[JOB#2233]
PRINT STATION PROGRAMMING (RANGE)
XXXXXX: Start PLU code = 1 999999
YYYYYY: End PLU code = 1 999999
A: KP1 No. of in-line A
No output 0
KP1 No. 1~9
B: KP2 No. of in-line B
No output 0
KP2 No. 1~9
C: Printing on receipt C
No 0
Yes 1
2232
YYYYYY
XXXXXX
1 RECORD
PLU CODE
ST
ABCDEFG
TL
0
X X X
2235 YYYYYYXXXXXX
1 RECORD
PLU CODE
ST
A
TL
0
X
X X
2236 YYYYYYXXXXXX
1 RECORD
PLU CODE
ST
AB
TL
0
X
X X
2233
YYYYYYXXXXXX
1 RECODE
PLU CODE
ST
A
TL
0
X X X
30

Table of Contents

Other manuals for Sharp ER-A570

Related product manuals