EasyManua.ls Logo

Sharp ER-A570 - Programming of the Time Interval for Drawer Alarm

Sharp ER-A570
54 pages
Print Icon
To Next Page IconTo Next Page
To Next Page IconTo Next Page
To Previous Page IconTo Previous Page
To Previous Page IconTo Previous Page
Loading...
D: Time printing on bill D
Yes 0
No 1
E: Bill printing on slip E
Yes 0
No 1
F: Bill printing on receipt F
Yes 0
No 1
G, H: Not used (Fixed at "00")
X: 7 NOT USED MRS = 00000000
X: 8 MRS = 00000000
A: Not used (Fixed at "0")
B: Non turnover including VAT B
No 0
Yes 1
C, D, E, F, G, H: Not used (Fixed at "000000")
X: 9 NOT USED MRS = 00000000
X: 10 MRS = 01000000
A: Not used (Fixed at "0")
B: Action shift key B
Shift 0
Caps Lock 1
C, D, E, F, G, H: Not used (Fixed at "000000")
X: 11 NOT USED MRS = 10001000
X: 12 NOT USED MRS = 00000011
X: 13 MRS = 00000000
A: Credit totalizer update if RA/PO finalized by Credit
key
A
No 0
Yes 1
B: Separator line in report B
1 line 0
Separator line 1
C, D, E, F, G, H: Not used (Fixed at "000000")
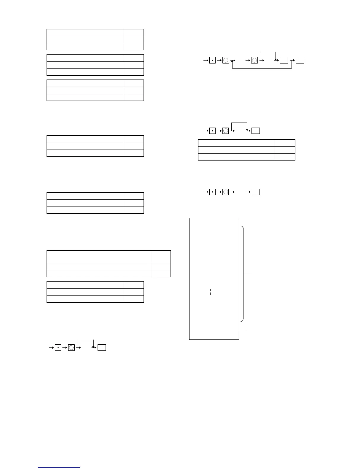
[JOB#2617]
PROGRAMMING OF THE TIME INTERVAL FOR DRAWER ALARM
XXX: 0 255 sec
MRS = 000
[JOB#2618]
Scale table programming
X: Table No. = 1~9
YYYY: Weight = 0~99.99
MRS = 00.00
[JOB#2619]
HOURLY REPORT (Starting time)
a: Memory format A
30 minuits (24 hour) 0
15 minuits (12 hour) 1
bb: Starting time (hour): 00 23
ex)
Case 1.
X1 Hourly report (#160) (15 min, start time = 7]
2617
TL
XXX
0
X
ST2618 TLX
0
YYYY
X
X
2619
TL
abb
0
X
2619
TL
107
X
#160
7:00
(DATA)
7:15
(DATA)
7:30
(DATA)
7:45
(DATA)
SUBTOTAL
(DATA)
18:45
(DATA)
SUBTOTAL
(DATA)
12 hours started from 7:00
✱✱
(DATA)
: ✱✱
Data out of range (19:00 to 6:59)
40 

Table of Contents

Other manuals for Sharp ER-A570

Related product manuals