EasyManua.ls Logo

Sharp FP-R65CX - Main Unit Indicator; Determining the Base Impurity Rate; Clean-Sign Light

Sharp FP-R65CX
52 pages
Print Icon
To Next Page IconTo Next Page
To Next Page IconTo Next Page
To Previous Page IconTo Previous Page
To Previous Page IconTo Previous Page
Loading...
OPERATION
PLASMACLUSTER INDICATOR LIGHT
Plasmacluster ion operation is selected using the remote control.
Blue light
When the Plasmacluster ion operation is in Clean Mode, or in AUTO Plasmacluster Ion Mode
and the air in the room is impure, the light will activate and the unit will operate in Clean
Mode.
Green light
When the Plasmacluster ion operation is in the Ion Control Mode, or in AUTO Plasmacluster
Ion Mode and the air in the room is clean, this light will activate and the unit will operate in Ion
Control Mode.
Light off
There are no Plasmacluster ions being generated.
The light can be turned off by using the ‘Lights ON/OFF Button’ on the Remote Control. In
this case, Plasmacluster ions are generated.
(Please turn off the light when not required.) (See Page E-13)
CLEAN-SIGN LIGHT
The colour changes according to the air condition.
ABOUT THE CLEAN-SIGN
The condition of the CLEAN-SIGN depends on the room air condition detected by the
Dust and Odour Sensors when the plug is inserted into the wall outlet.
It is possible to have a green CLEAN-SIGN with impurities in the air at the time that the air
purifier was just introduced to the room environment. After a while, however, the base impurity
rate will be adjusted to detect room air condition correctly.
Use the Lights ON/OFF Button on the remote control to turn off the Indicator lights.
E-14
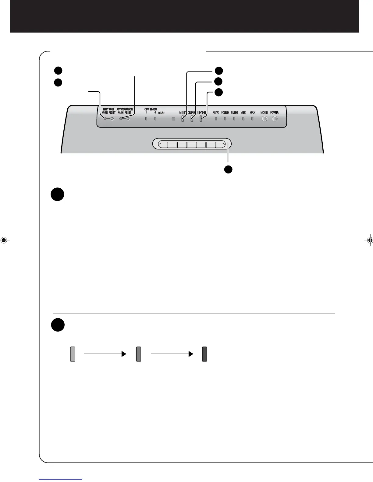
MAIN UNIT INDICATOR
Active Carbon Filter Indicator Light
MIST Unit Indicator
Light
MIST Operation
Indicator
Light
CLEAN-SIGN Light
SENTINEL Operation Indicator Light
Plasmacluster Indicator Light
Very Impure (Red)
Slightly Impure (Orange)
Clean (Green)
DETERMINING THE BASE IMPURITY RATE
For the first 30 seconds after the power plug is inserted into the wall outlet, the unit will
check the conditions of the air. If operation is set to ON during this time, the CLEAN-
SIGN LIGHT will alternately flash in green, orange and red.
1
2
2
3
4
5
6
1

Table of Contents

Related product manuals