EasyManua.ls Logo

Sharp FP-R65CX - Indicateur de Fonctionnement de Lappareil

Sharp FP-R65CX
52 pages
Print Icon
To Next Page IconTo Next Page
To Next Page IconTo Next Page
To Previous Page IconTo Previous Page
To Previous Page IconTo Previous Page
Loading...
INDICATEUR DE FONCTIONNEMENT DU MODE DE NETTOYAGE (CLEAN)
La couleur change selon la qualité de l’air.
Propre (lumière verte)
À PROPOS DE L’INDICATEUR DE FONCTIONNEMENT DU MODE DE NETTOYAGE (CLEAN)
L’état de l’indicateur de fonctionnement du mode de nettoyage (CLEAN) dépend de la qualité de l’air de la pièce
détectée par les capteurs d’odeurs et de poussière lorsque la fiche est insérée dans la prise murale.
Il est possible que l’indicateur de fonctionnement du mode de nettoyage (CLEAN) soit en vert au moment où le
purificateur d’air est introduit dans une nouvelle pièce dont l’air est impur. Après un moment, cependant, le taux
d’impuretés sera ajusté pour détecter la qualité de l’air de façon correcte.
Appuyez sur le bouton d’extinction des lumières LIGHTS ON/OFF sur la télécommande pour éteindre les indicateurs
de fonctionnement.
DÉTERMINATION DU TAUX D’IMPURETÉS
Pendant les 30 premières secondes après que la fiche aura été branchée dans la prise murale, l’appareil
vérifie la qualité de l’air. Si l’appareil est mis en fonctionnement durant ce laps de temps, l’indicateur de
fonctionnement du mode de nettoyage (CLEAN) alternera entre le vert, l’orange et le rouge.
FONCTIONNEMENT
F-14
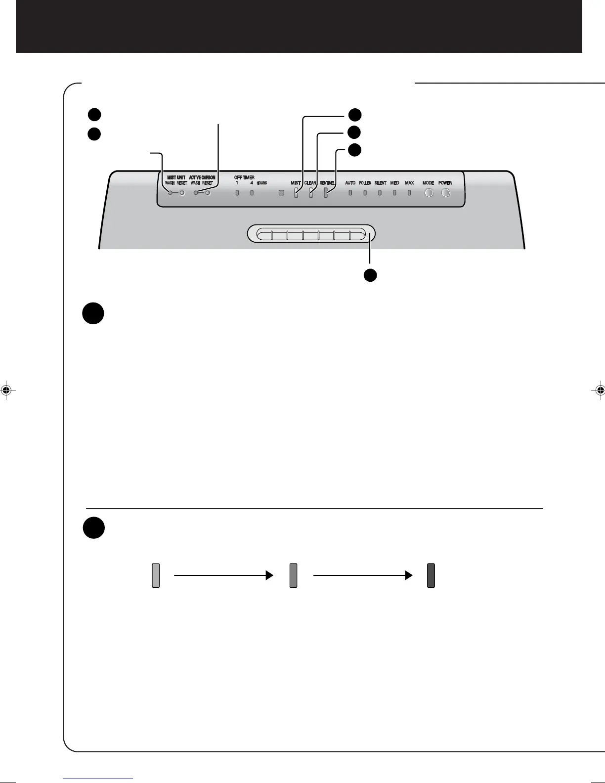
INDICATEURS DE L’APPAREIL
Indicateur du filtre à charbon actif
Indicateur du mode de
fonctionnement du
brumisateur
Indicateur de fonctionnement du brumisateur
Indicateur de fonctionnement en mode de
nettoyage
Indicateur de fonctionnement en mode
automatique
Indicateur de fonctionnement de la
technologie Plasmacluster
1
2
2
3
4
5
6
1
INDICATEUR DE FONCTIONNEMENT DE LA TECHNOLOGIE PLASMACLUSTER
Le fonctionnement de la technologie Plasmacluster est activé par la télécommande.
Lumière bleue
Lorsque la technologie Plasmacluster fonctionne en mode de nettoyage (CLEAN MODE) ou en mode automatique
(AUTO) et que l’air de la pièce est impur, l’indicateur s’illumine en bleu et l’appareil fonctionne en mode de nettoyage
(CLEAN MODE).
Lumière verte
Lorsque la technologie Plasmacluster fonctionne en mode de contrôle de la quantité d’ions (ION CONTROL MODE)
ou en mode automatique (AUTO Plasmacluster Ion Mode) et que l’air de la pièce est impur, l’indicateur s’illumine en
vert et l’appareil fonctionne en mode de contrôle automatique de la quantité d’ions (Ion Control Mode).
Lumière éteinte
La technologie Plasmacluster n’est pas en marche et le générateur d’ions n’est pas en service.
La lumière peut être éteinte en appuyant sur le bouton d’extinction des lumières LIGHTS ON/OFF de la
télécommande.
Dans ce cas, la technologie Plasmacluster est en marche et génère des ions.
(veuillez éteindre la lumière lorsqu’elle n’est pas indispensable) (Voir page F-13)
Légèrement impur (lumière orange)
Impur (lumière rouge)
FP-R65CX_Fre.pm 05.6.3, 5:04 PM16

Table of Contents

Related product manuals