EasyManua.ls Logo

Sharp XE-A212 - Entrées Répétées; Entrées Multiplicatives

Sharp XE-A212
404 pages
Print Icon
To Next Page IconTo Next Page
To Next Page IconTo Next Page
To Previous Page IconTo Previous Page
To Previous Page IconTo Previous Page
Loading...
16
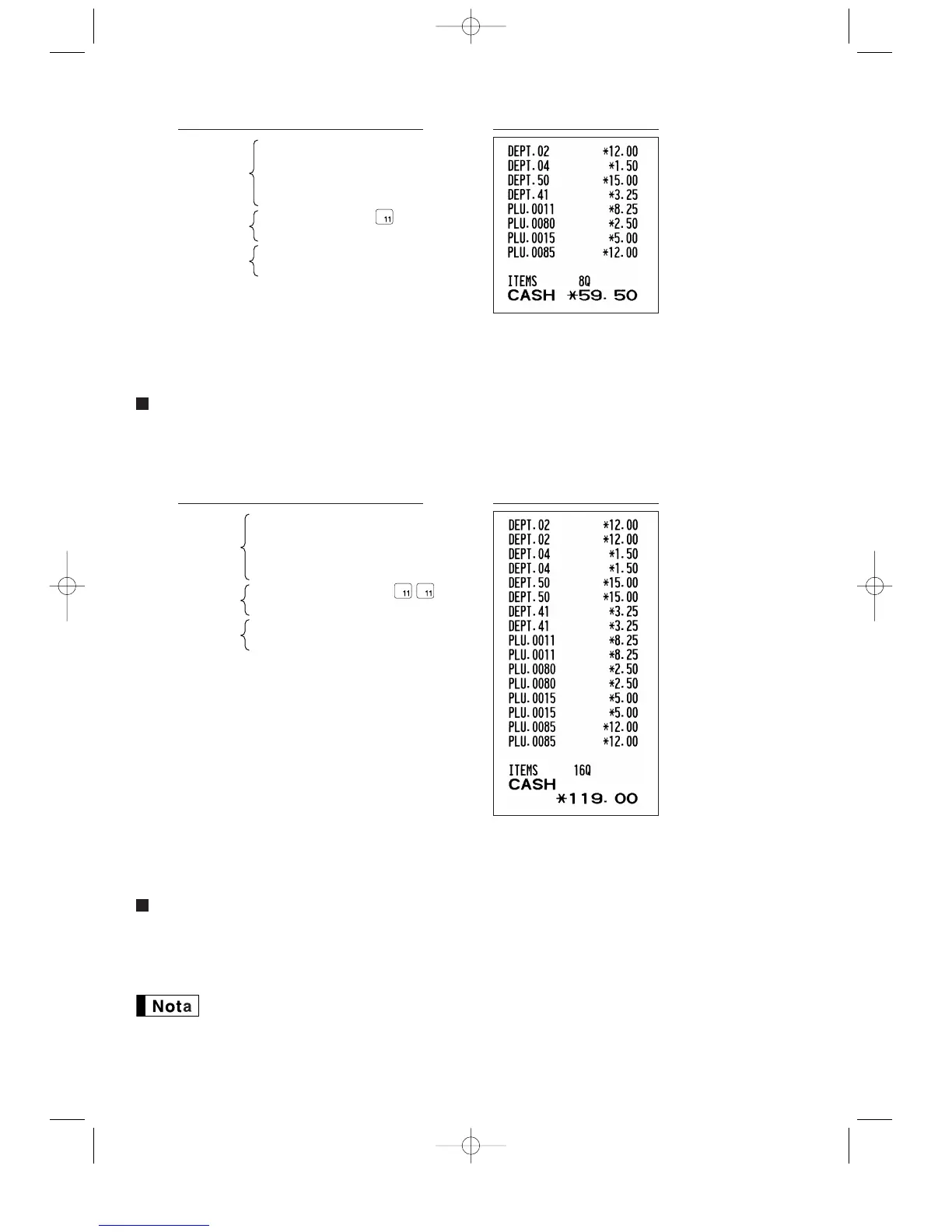
Entrées répétées
Vous pouvez utiliser cette fonction pour introduire la vente de deux ou davantage articles semblables. Appuyer
de manière consécutive sur la touche dun rayon, la touche
d
, la touche dun PLU direct ou la touche
p
,
comme il est montré sur lexemple de manipulation des touches ci-dessous.
Entrées multiplicatives
Lorsque vous vendez une grande quantité darticles, il est pratique dutiliser la méthode dentrée multiplicative.
Introduisez la quantité en utilisant les touches numériques et appuyez sur la touche
@
avant de commencer
lentrée des articles, comme il est montré dans lexemple ci-dessous.
Lorsque vous programmez pour autoriser des entrées de quantités fractionnelles, vous pouvez
introduire jusqu’à quatre chiffres entiers et une décimale à trois chiffres, bien que la quantité soit
comptée en tant qu’unique pour des rapports de ventes. Pour introduire une quantité fractionnelle,
utilisez la touche du point de décimalisation entre le chiffre entier et la décimale.
1200 " "
$ $
50 d 1500 d d
41 d d
80 p p
500
85 p 1200 p p
A
Entrée du
rayon auxiliaire
Entrée du PLU
Entrée du
rayon
Impression du reçuExemple de manipulation des touches
Entrée du rayon
auxiliaire
Entrée du PLU
Entrée du rayon
1200 "
$
50 d 1500 d
41 d
80 p
500
85 p 1200 p
A
Impression du reçuExemple de manipulation des touches
A212_2(F) 03.7.4 9:37 PM Page 16

Table of Contents

Other manuals for Sharp XE-A212

Related product manuals