EasyManua.ls Logo

Siemens OpenStage 30T - Set Feature Keys Sub-menu

Siemens OpenStage 30T
44 pages
To Next Page IconTo Next Page
To Next Page IconTo Next Page
To Previous Page IconTo Previous Page
To Previous Page IconTo Previous Page
Loading...
Menu Features
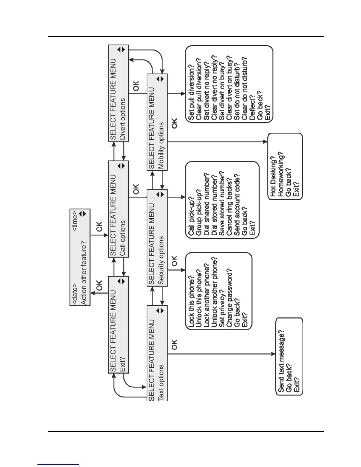
Figure 1: Action other feature - menu structure
33

Related product manuals