EasyManua.ls Logo

Siemens SIMOTICS S-1FK2 Series - Torque Overview

Siemens SIMOTICS S-1FK2 Series
122 pages
Print Icon
To Next Page IconTo Next Page
To Next Page IconTo Next Page
To Previous Page IconTo Previous Page
To Previous Page IconTo Previous Page
Loading...
Description of the motors
2.3 Technical features and ambient conditions
1FK2 synchronous motors for SINAMICS S120
24 Configuration Manual, 06/2019, A5E46927724B AB
2.3.3
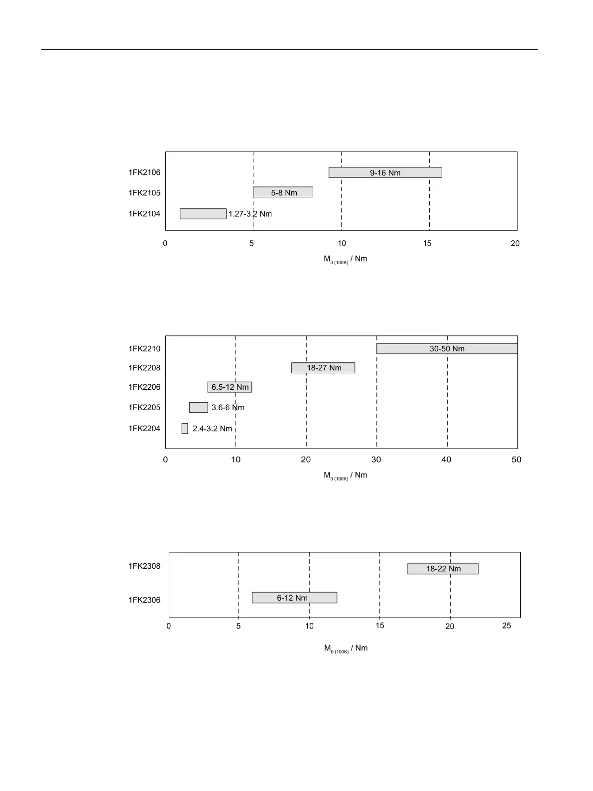
Torque overview
1FK2 High Dynamic 3 AC 380 ... 480 V
Figure 2-2 Static torques 1FK210
1FK2 Compact 3 AC 380 ... 480 V
Figure 2-3 Static torques 1FK22❑❑
1FK2 High Inertia 3 AC 380 ... 480 V
Figure 2-4 Static torques 1FK23❑❑

Table of Contents

Related product manuals