EasyManua.ls Logo

Sime AR Series - Allacciamento Elettrico

Sime AR Series
Print Icon
To Next Page IconTo Next Page
To Next Page IconTo Next Page
To Previous Page IconTo Previous Page
To Previous Page IconTo Previous Page
Loading...
posizionare la lana di vetro (2), fissa-
re il pannello anteriore (3) con i dadi
forniti a corredo e rimontare la pia-
stra porta-bruciatore;
fissare la staffa superiore (4) e infe-
riore (5) alla testata posteriore con
i dadi inseriti sui tiranti;
montare il fianco sinistro (6) e il
fianco destro (7) fissando la parte
anteriore dei fianchi al pannello an-
teriore (3) per mezzo dei piolini ad
innesto;
bloccare i fianchi alla staffa superio-
re e inferiore con le otto viti autofi-
lettanti fornite a corredo;
fissare i due pannelli posteriori (8) e
(9) ai fianchi con le dieci viti autofilet-
tanti fornite a corredo;
montare il pannello anteriore (10)
fissandolo ai fianchi per mezzo dei
piolini ad innesto;
montare il pannello di comando (11)
inserendo le due linguette inferiori
del pannello sugli scarichi ricavati
sui fianchi e fissarlo con due viti
autofilettanti.
Prima di questa operazione è ne-
cessario svolgere i capillari dei due
termostati e del termometro intro-
ducendo le rispettive sonde nella
guaina (13), bloccando il tutto con
la molletta ferma capillari data a
corredo;
togliere il tappo (14) e avvitare la
sonda dell’idrometro con valvola di
ritegno;
completare il montaggio fissando il
coperchio (12) ai fianchi.
NOTA: Conservare con i documenti
della caldaia il “Certificato di Collau-
do” inserito nella camera di combu-
stione.
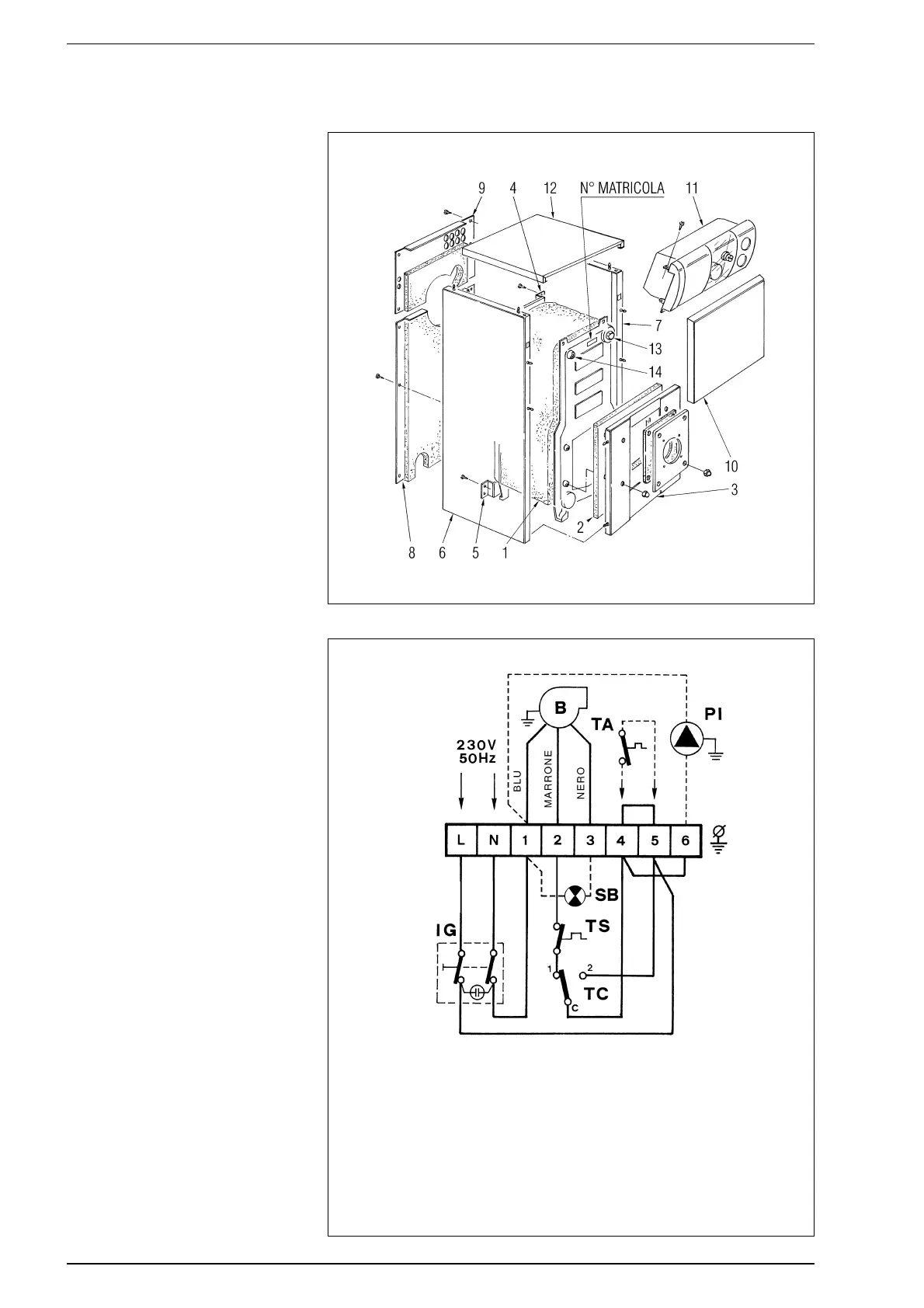
2.6 ALLACCIAMENTO ELETTRICO
La caldaia è corredata di cavo elettri-
co di alimentazione e dovrà essere ali-
mentata con tensione monofase
230V - 50Hz attraverso un interrutto-
re generale protetto da fusibili.
Il cavo del termostato ambiente, la cui
installazione è d'obbligo per ottenere
una migliore regolazione della tempe-
ratura ambiente, dovrà essere collega-
to come indicato in fig. 6.
Collegare
quindi il cavo di alimentazione del bru-
ciatore e della pompa di circolazione
dell’impianto forniti a corredo.
NOTA: La SIME declina qualsiasi re-
sponsabilità per danni a persone de-
rivanti dalla mancata messa a terra
della caldaia.
5
LEGENDA
TS Termostato sicurezza
TA Termostato ambiente
TC Termostato caldaia
IG Interruttore generale
PI Pompa impianto
B Bruciatore
SB Spia blocco bruciatore
Fig. 6
Serie “AR”
Fig. 5

Table of Contents

Other manuals for Sime AR Series

Related product manuals