EasyManua.ls Logo

Singer 9910 - CHECK MEMORIZED LETTERS; Checking Memorized Letters; SEWING THE MEMORIZED LETTERS; TIPS FOR LETTER SEWING

Singer 9910
80 pages
Print Icon
To Next Page IconTo Next Page
To Next Page IconTo Next Page
To Previous Page IconTo Previous Page
To Previous Page IconTo Previous Page
Loading...
72
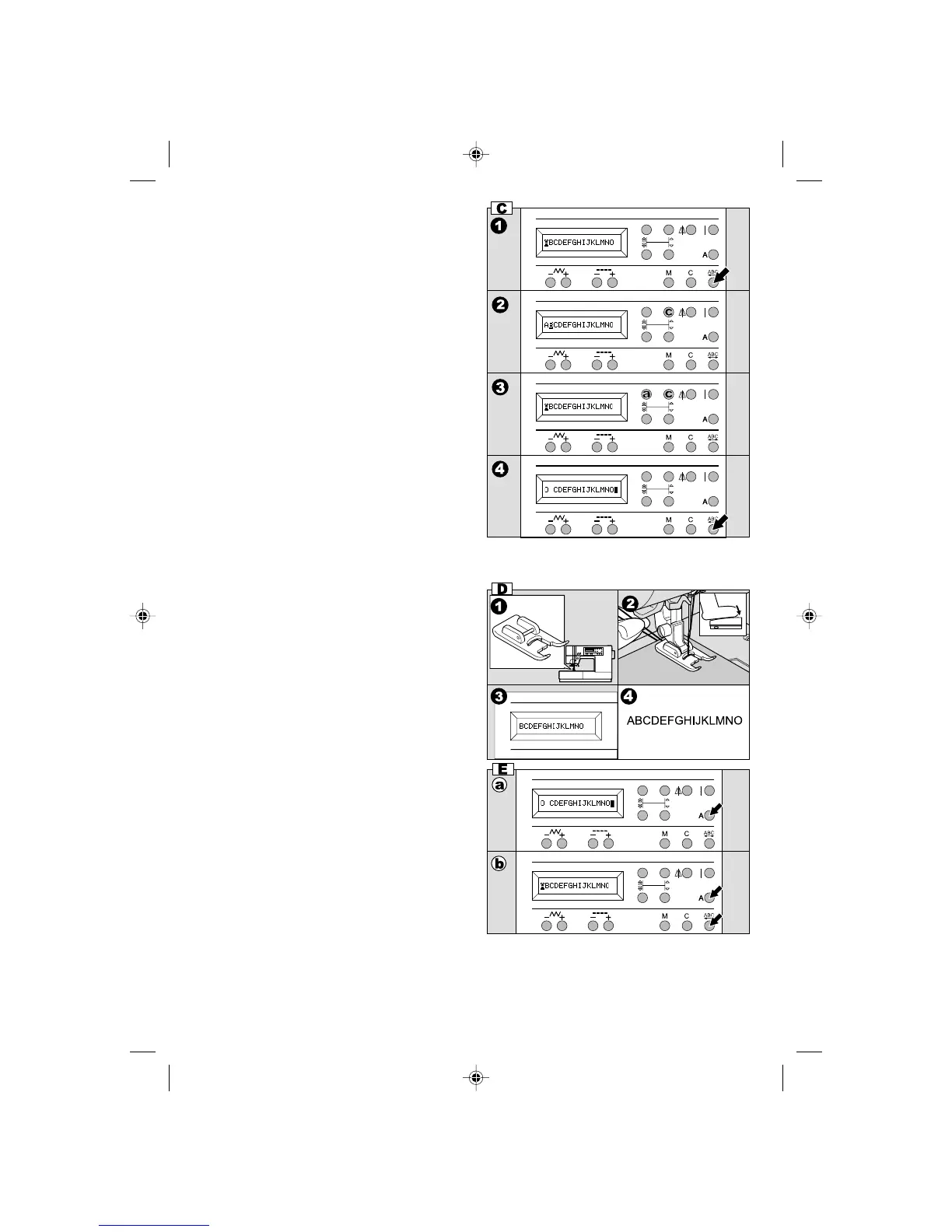
C.TO CHECK MEMORIZED LETTERS
You can check memorized letters as follows.
1. Press the Read button.
The memorized letters will appear on the LCD
and first letter will start to blink.
2. To check next memorized letter, press the
pattern selector button (c).
The blinking will move to one step right.
3. By pressing the (c) button, blinking will shift to
the right.
By pressing the (a) button, blinking will shift to
the left.
4. To return regular mode from check mode, press
the Read button once again.
D.SEWING THE MEMORIZED LETTERS
1. Attach the satin foot when sewing letter
stitches.
2. Lower the presser foot and start sewing.
3. Machine will indicate the sewing letter most left
side on the LCD.
4. Machine will stop automatically after sewing
memorized letters.
E. TIPS
a. To sew selected letters from
beginning.
When you stop sewing at the middle of
memorized letters, you may want sew from
beginning.
In such a case, press the letter button.
b. To recall the selected pattern.
If you change the pattern to utility stitches, the
machine will retain the selected letters.
To recall these letters, press the letter stitch
button, and press the Read button. Machine will
recall the selected letters.
9910EFSt.pm6 2003.9.10, 8:47 PM72

Table of Contents

Related product manuals