EasyManua.ls Logo

sitrex MX 8 - Page 15

Default Icon
61 pages
Print Icon
To Next Page IconTo Next Page
To Next Page IconTo Next Page
To Previous Page IconTo Previous Page
To Previous Page IconTo Previous Page
Loading...
ASSEMBLY STEPS
13
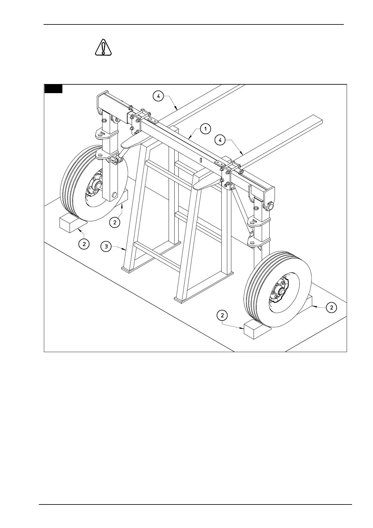
5. DANGER
Assembly 1 must be fully firmly stabilized. Wheels must be chocked with chocks 2 and a support
3 must be placed under the cross member. The forks 4 of a forklift may also be used to support
the assembly.
5

Related product manuals