EasyManua.ls Logo

Sony DCR-SD1000E - SHOOTING SET (Items for Customized Shooting)

Sony DCR-SD1000E
112 pages
Print Icon
To Next Page IconTo Next Page
To Next Page IconTo Next Page
To Previous Page IconTo Previous Page
To Previous Page IconTo Previous Page
Loading...
72
GB
SHOOTING SET
(Items for customized
shooting)
See “Using menus” (p. 63) on the operation.
The default settings are marked with .
REC MODE (Recording
mode)
See page 28.
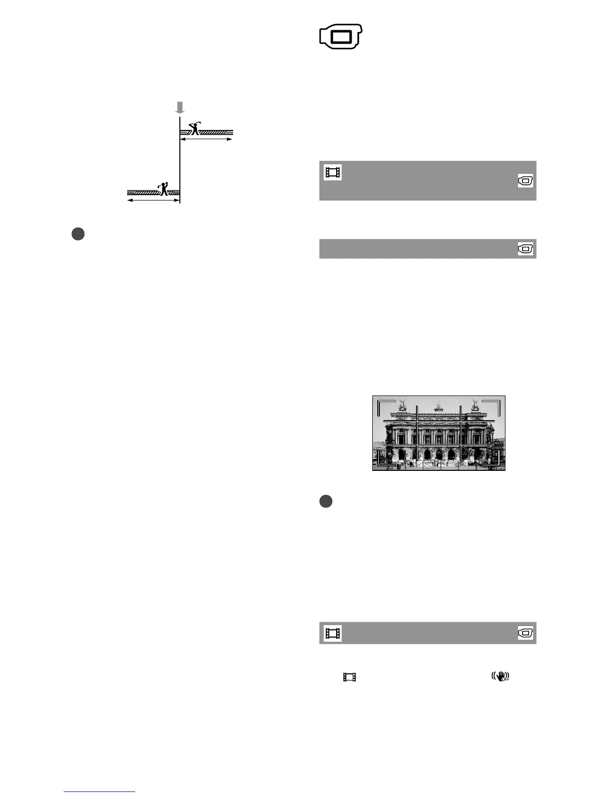
GUIDEFRAME
You can display the frame and check that
the subject is horizontal or vertical.
The frame is not recorded.
OFF
Does not display the guide frame.
ON
Displays the guide frame.
Tips
Positioning the subject at the cross point of the
guide frame makes a balanced composition.
The outer frame of [GUIDEFRAME] shows the
display area of a TV which is not compatible
with full pixel display.
When recording with the viewfinder, the outer
frame of [GUIDEFRAME] is not displayed.
STEADYSHOT
You can compensate for camera shake.
Set [
STEADYSHOT] to [OFF] ( )
when using a tripod (sold separately), then
the image becomes natural.
Notes
You cannot record sound.
Image quality is not as good as that of normal
recording.
The point when START/STOP is pressed.
[3sec AFTER]
[3sec BEFORE]

Table of Contents

Related product manuals