EasyManua.ls Logo

Sony DCR-SD1000E - Editing, Media Management, and General Settings

Sony DCR-SD1000E
112 pages
Print Icon
To Next Page IconTo Next Page
To Next Page IconTo Next Page
To Previous Page IconTo Previous Page
To Previous Page IconTo Previous Page
Loading...
77
Customizing your camcorder
GB
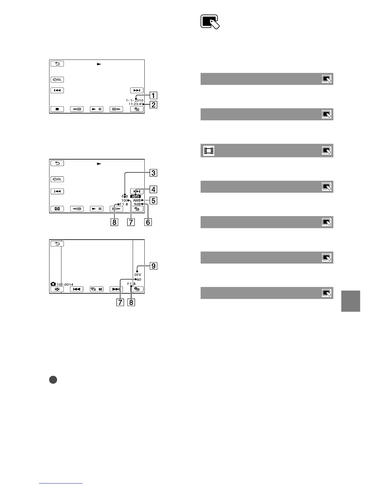
DATE/TIME
Date
Time
CAMERA DATA
SteadyShot off
Brightness
White balance
Gain
Shutter speed
Aperture value
Exposure
Tips
The data code is displayed on the TV screen if
you connect your camcorder to a TV.
Depending on the recording media condition,
bars [--:--:--] appear.
EDIT
(Items for editing)
See “Using menus” (p. 63) on the operation.
DELETE
See page 40.
PROTECT
See page 41.
DIVIDE
See page 42.
PHOTO CAPTURE
See page 43.
MOVIE DUB
See page 44.
PHOTO COPY
See page 45.
PLAYLIST EDIT
See page 46.
Movie
Photo

Table of Contents

Related product manuals