EasyManua.ls Logo

Sony ICF-CDK70 - Station Presets and Audio Input; CD Copyright Protection; Presetting Favorite Stations

Sony ICF-CDK70
50 pages
Print Icon
To Next Page IconTo Next Page
To Next Page IconTo Next Page
To Previous Page IconTo Previous Page
To Previous Page IconTo Previous Page
Loading...
ICF-CDK70
5
SECTION 3
DISASSEMBLY
This set can be disassembled in the order shown below.
3-1. DISASSEMBLY FLOW
Note: Follow the disassembly procedure in the numerical order shown below.
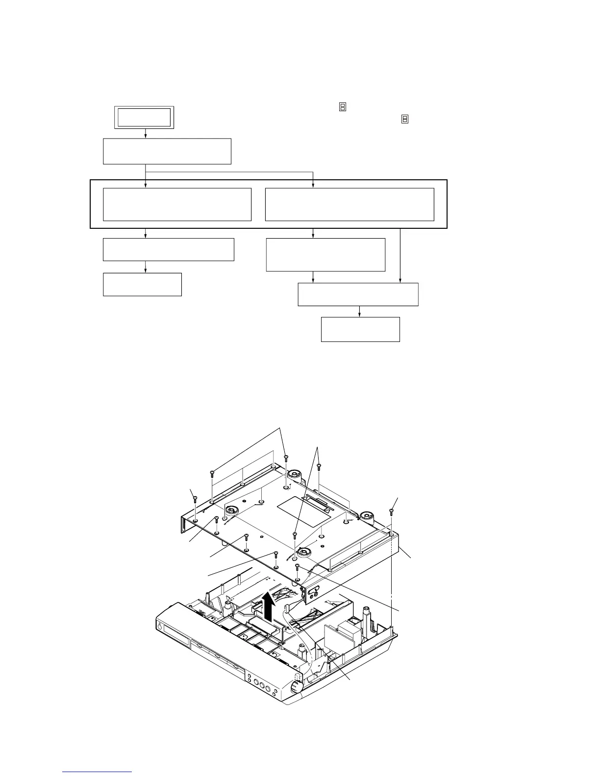
3-2. CABINET (UPPER) SECTION
3-6. CD LID ASSY
(Page 9)
SET
3-2. CABINET (UPPER) SECTION
(Page 5)
3-3. MECHANISM DECK (DLM3A23-11)
(When TRAY carries out movable.)
(Page 6)
3-4. MECHANISM DECK (DLM3A23-11)
(When TRAY does not carry out movable.)
(Page 7)
3-7. OPTICAL PICK-UP BLOCK
(KSM-213CCP)
(Page 9)
3-8. HOW TO PULL OUT TRAY
(Page 10)
3-9. BELT (DLM3A)
(Page 10)
3-5. CABINET (FRONT) SECTION
(Page 8)
Note 1: The process described in can be performed in any order.
Note 2: Without completing the process described in , the next process can not be performed.
six screws (B2.6)
screw (B2.6)
screw (B2.6)
screw (M2.6)
screw (B2.6)
connector (CN417)
screw (B2.6)
cabinet (upper) section
three screws (B2.6)
five screws (B2.6)

Other manuals for Sony ICF-CDK70

Related product manuals